Запчасти Komatsu PC20-5 ЭЛЕКТРИКА (СПЕЦ-Я TBG) МАРКИРОВКА¤ ИНСТРУМЕНТ И РЕМКОМПЛЕКТЫ

Схема запчастей Komatsu PC20-5 - ЭЛЕКТРИКА (СПЕЦ-Я TBG) МАРКИРОВКА¤ ИНСТРУМЕНТ И РЕМКОМПЛЕКТЫ
FIT
1:1
100%

Артикул

Название

Примечание

Количество

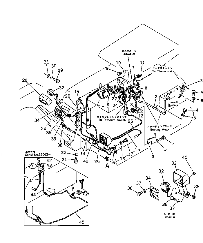
1

20S-06-21430

WIRE

2

08036-02514

CLIP

3

20R-06-11240

WIRE

4

01010-51016

BOLT

5

01642-21016

WASHER

6

20S-06-21310

WIRE ASS'Y

7

20S-06-21390

WIRE ASS'Y

8

08036-01414

CLIP

9

01010-51016

BOLT

10

01602-21030

WASHER,SPRING

11

198-06-11940

SENSOR,WATER TEMPERATURE

12

08037-05016

GROMMET

13

20S-06-13210

WIRE

14

20R-06-21370

WIRE

15

20S-06-21550

WIRE

16

08160-41200

HORN

17

01010-50816

BOLT

18

01602-20825

WASHER,SPRING

19

20S-06-21250

GAUGE,FUEL

20

07000-02085

O-RING

21

01010-51016

BOLT

22

01602-21030

WASHER,SPRING

23

08036-10614

CLIP

24

20S-06-21380

WIRE

25

20S-06-21350

WIRE ASS'Y

26

20S-06-21540

WIRE

27

20S-06-21330

WIRE ASS'Y

28

20S-06-14110

COVER

29

01010-51025

BOLT

30

01602-21030

WASHER,SPRING

31

01643-31032

WASHER

32

08125-01200

LAMP ASS'Y

32

08107-01260

BULB, 60W

32

08125-00006

LENS

33

20S-06-21510

BRACKET

34

20S-06-21530

COVER

35

20S-06-21520

BRACKET

36

01010-51020

BOLT

37

01602-21030

WASHER,SPRING

38

08037-01610

GROMMET

39

20S-06-21150

PLATE

40

08037-01008

GROMMET

41

20T-06-31110

FLOAT

42

01220-40408

SCREW

43

01601-20410

WASHER,SPRING

44

20T-06-31180

WIRE

45

20T-06-31140

WIRE

Выбрано товаров: 47