Запчасти Komatsu PC20-5 РЫЧАГ УПРАВЛ-Я ХОДОМ (TBG. СПЕЦ-Я.) МАРКИРОВКА¤ ИНСТРУМЕНТ И РЕМКОМПЛЕКТЫ

Схема запчастей Komatsu PC20-5 - РЫЧАГ УПРАВЛ-Я ХОДОМ (TBG. СПЕЦ-Я.) МАРКИРОВКА¤ ИНСТРУМЕНТ И РЕМКОМПЛЕКТЫ
FIT
1:1
100%

Артикул

Название

Примечание

Количество

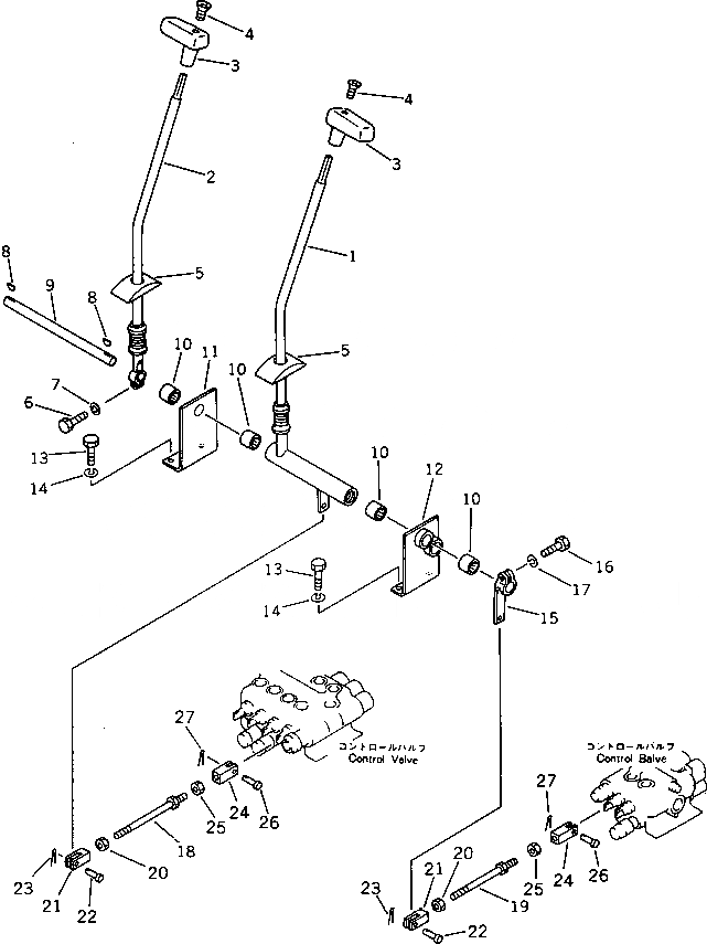
1

20S-43-21110

LEVER

2

20S-43-21120

LEVER

3

203-43-41340

KNOB

4

01225-40625

SCREW

5

20S-43-11230

COVER

6

01010-50830

BOLT

7

01602-20825

WASHER,SPRING

8

04010-00519

KEY

9

20S-43-21190

SHAFT

10

195-61-34130

BEARING

11

20S-43-21161

BRACKET

12

20S-43-23210

BRACKET

13

01010-51025

BOLT

14

01602-21030

WASHER,SPRING

15

20S-43-21141

LEVER

16

01010-50830

BOLT

17

01602-20825

WASHER,SPRING

18

04248-31021

ROD

19

04248-31018

ROD

20

01508-21006

NUT

21

20S-43-12150

YOKE

22

04205-10822

PIN

23

04050-12012

PIN,COTTER

24

201-43-21370

YOKE

25

01582-11008

NUT

26

04205-10622

PIN

27

04050-11610

PIN,COTTER

28

20S-43-21870

SHIM,(NOT SHOWN)

29

20S-43-21880

SHIM,(NOT SHOWN)

Выбрано товаров: 29