Запчасти Komatsu PC20-5 ОСНОВНАЯ РАМА (СПЕЦ-Я TBG) МАРКИРОВКА¤ ИНСТРУМЕНТ И РЕМКОМПЛЕКТЫ

Схема запчастей Komatsu PC20-5 - ОСНОВНАЯ РАМА (СПЕЦ-Я TBG) МАРКИРОВКА¤ ИНСТРУМЕНТ И РЕМКОМПЛЕКТЫ
FIT
1:1
100%

Артикул

Название

Примечание

Количество

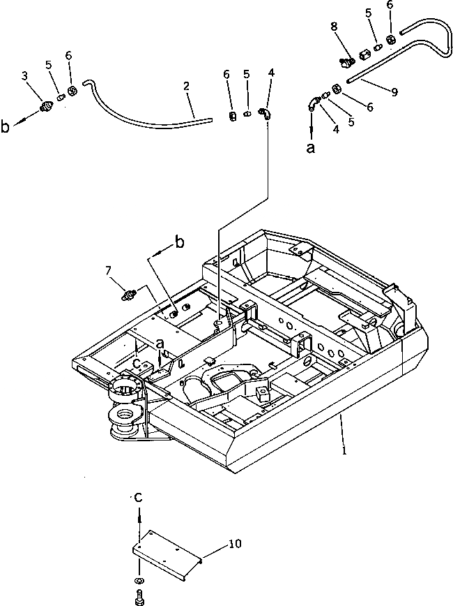
1

20R-46-32111

FRAME

1

20R-46-32110

FRAME

2

201-46-23111

TUBE

3

20R-46-11160

CONNECTOR

4

20R-46-11150

ELBOW

5

07831-00411

SLEEVE

6

07832-00410

NUT

7

07020-00000

FITTING,GREASE

8

07020-00675

FITTING,GREASE

9

20T-54-26760

TUBE

10

20S-46-21191

PLATE,(FOR CAB)

10

20S-46-21190

PLATE,(FOR CAB)

Выбрано товаров: 12