Запчасти Komatsu PC20-5 КОВШ И СОЕДИНИТЕЛЬН. ЗВЕНО (США СПЕЦ-Я.) МАРКИРОВКА¤ ИНСТРУМЕНТ И РЕМКОМПЛЕКТЫ

Схема запчастей Komatsu PC20-5 - КОВШ И СОЕДИНИТЕЛЬН. ЗВЕНО (США СПЕЦ-Я.) МАРКИРОВКА¤ ИНСТРУМЕНТ И РЕМКОМПЛЕКТЫ
FIT
1:1
100%

Артикул

Название

Примечание

Количество

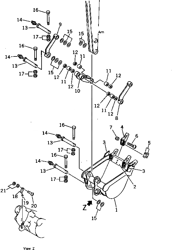
|$0

20S-70-00200

BUCKET ASS'Y

1

BUCKET,0.15M3/530MM

2

20S-70-11210

LIP (WELDED)

3

20T-70-13160

CUTTER (WELDED)

4

20T-70-13130

TOOTH

5

20T-70-05010

SHIM ASS'Y

5

SHIM, 0.5MM

5

SHIM, 1.0MM

6

02090-11060

BOLT

7

02205-11015

NUT

8

20S-70-11150

LINK

9

20S-70-11160

LINK

|$12

20S-70-00040

LINK ASS'Y

10

LINK

11

20S-70-11270

BUSHING

12

07145-00035

SEAL,DUST

13

20R-70-11241

PIN

14

07020-00000

FITTING,GREASE

15

20R-70-11270

SPACER, 1.0MM

16

01010-51285

BOLT

17

01580-01210

NUT

18

20T-70-26120

LEVER

19

20S-70-12130

SPRING

20

01220-40525

SCREW

21

01580-10504

NUT

Выбрано товаров: 25