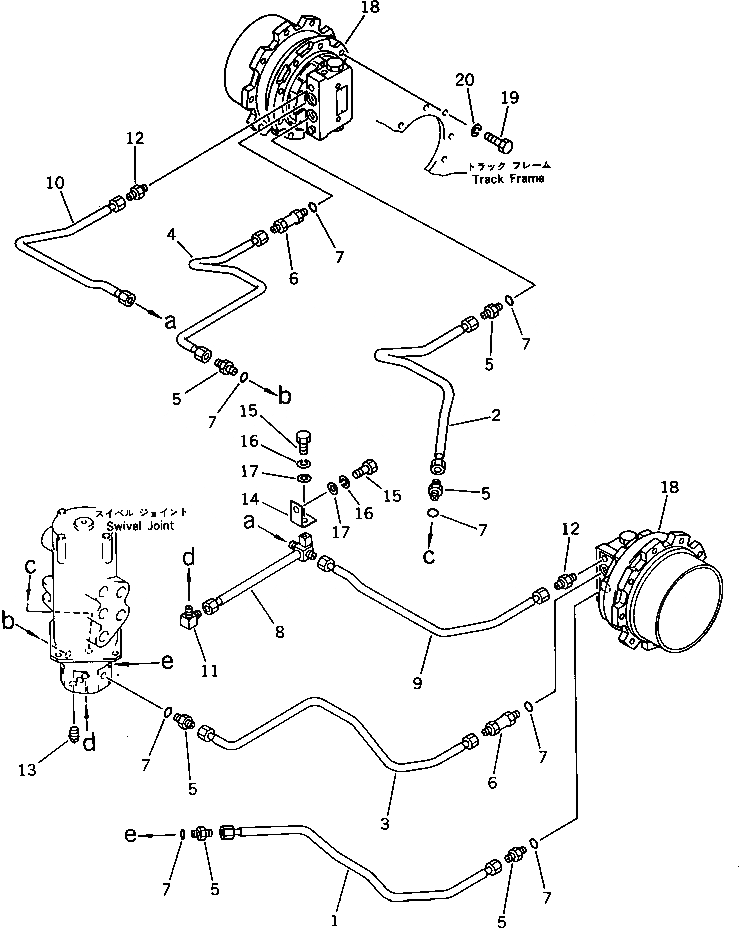
Запчасти Komatsu PC20-5 ГИДРОЛИНИЯ (ПОВОРОТНОЕ СОЕДИНЕНИЕ TO/FROM МОТОР ХОДА) ХОД И КОНЕЧНАЯ ПЕРЕДАЧА

Схема запчастей Komatsu PC20-5 - ГИДРОЛИНИЯ (ПОВОРОТНОЕ СОЕДИНЕНИЕ TO/FROM МОТОР ХОДА) ХОД И КОНЕЧНАЯ ПЕРЕДАЧА
FIT
1:1
100%

Артикул

Название

Примечание

Количество

1

20R-62-32130

TUBE

2

20R-62-32140

TUBE

3

20R-62-32110

TUBE

4

20R-62-32120

TUBE

5

07230-10315

UNION

6

20R-62-32180

TUBE

7

07002-12034

O-RING

8

20S-62-22230

TUBE

9

20R-62-32160

TUBE

10

20R-62-32170

TUBE

11

201-936-6280

ELBOW

12

176-62-15490

NIPPLE

13

07042-70312

PLUG

14

20R-62-32150

PLATE

15

01010-51025

BOLT

16

01602-21030

WASHER

17

01643-31032

WASHER

18

20R-60-31100

TRAVEL MOTOR ASS'Y

19

01010-51230

BOLT

20

01602-21236

WASHER,SPRING

Выбрано товаров: 0