Запчасти Komatsu PC20-6 КОВШ .M (MINI .M) ШИР. MM РАБОЧЕЕ ОБОРУДОВАНИЕ

Схема запчастей Komatsu PC20-6 - КОВШ .M (MINI .M) ШИР. MM РАБОЧЕЕ ОБОРУДОВАНИЕ
FIT
1:1
100%

Артикул

Название

Примечание

Количество

|$0

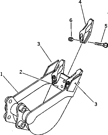
20R-926-0010

BUCKET ASS'Y

G-1

20R-926-X100

BUCKET GROUP

1

20R-926-1111

BUCKET

2

20R-926-1120

LIP (WELDED)

3

20R-70-13120

CUTTER (WELDED)

G-2

21E-70-X4200

TOOTH GROUP

4

10E-70-22211

TOOTH

5

02090-11055

BOLT

6

09218-11614

NUT

Выбрано товаров: 0