Запчасти Komatsu PC20-6 КОВШ .M (MINI .7M) ШИР. MM¤ С КРЮК (КРОМЕ ЯПОН.) РАБОЧЕЕ ОБОРУДОВАНИЕ

Схема запчастей Komatsu PC20-6 - КОВШ .M (MINI .7M) ШИР. MM¤ С КРЮК (КРОМЕ ЯПОН.) РАБОЧЕЕ ОБОРУДОВАНИЕ
FIT
1:1
100%

Артикул

Название

Примечание

Количество

|$0

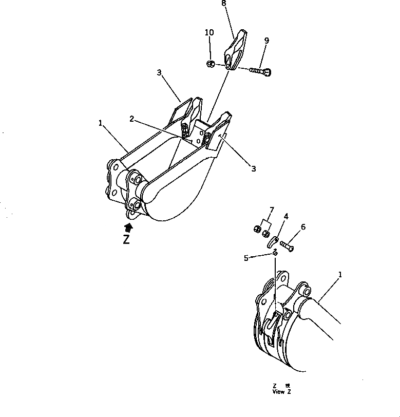
20R-926-0040

BUCKET ASS'Y

G-1

20R-926-X400

BUCKET GROUP

1

20R-926-3110

BUCKET

2

20R-926-1220

LIP (WELDED)

3

20R-70-13120

CUTTER (WELDED)

4

20T-70-26120

LEVER

5

20S-70-12130

SPRING

6

01220-40525

SCREW

7

01580-10504

NUT

G-2

21E-70-X4200

TOOTH GROUP

8

10E-70-22211

TOOTH

9

02090-11055

BOLT

10

09218-11614

NUT

Выбрано товаров: 13