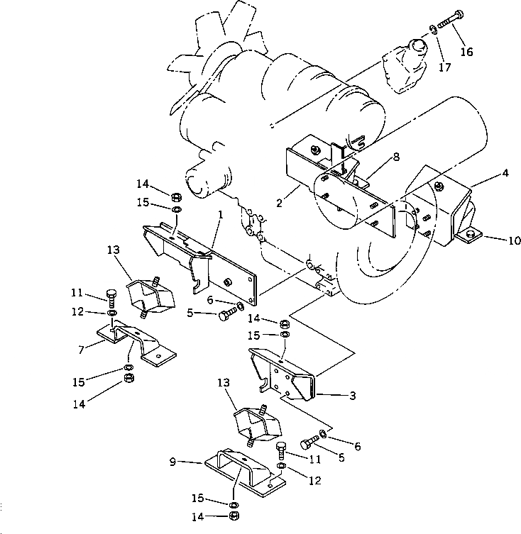
Запчасти Komatsu PC20-6 КРЕПЛЕНИЕ ДВИГАТЕЛЯ КОМПОНЕНТЫ ДВИГАТЕЛЯ И ЭЛЕКТРИКА

Схема запчастей Komatsu PC20-6 - КРЕПЛЕНИЕ ДВИГАТЕЛЯ КОМПОНЕНТЫ ДВИГАТЕЛЯ И ЭЛЕКТРИКА
FIT
1:1
100%

Артикул

Название

Примечание

Количество

1

20S-01-31510

BRACKET,FRONT, L.H.

2

20S-01-31521

BRACKET,FRONT, R.H.

3

20S-01-31530

BRACKET,REAR, L.H.

4

20S-01-31540

BRACKET,REAR, R.H.

5

01010-51225

BOLT

6

01643-31232

WASHER

7

20S-01-31580

BRACKET,FRONT, L.H.

8

20S-01-31550

BRACKET,FRONT, R.H.

9

20S-01-31560

BRACKET,REAR, L.H.

10

20S-01-31570

BRACKET,REAR, R.H.

11

01010-51025

BOLT

12

01643-31032

WASHER

13

20R-01-29111

CUSHION ASS'Y

14

01580-11210

NUT

15

01643-31232

WASHER

16

01220-40516

SCREW

17

01601-20513

WASHER,SPRING

Выбрано товаров: 17