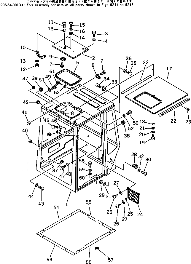
Запчасти Komatsu PC20-6 КАБИНА (/)(№-9) ЧАСТИ КОРПУСА

Схема запчастей Komatsu PC20-6 - КАБИНА (/)(№-9) ЧАСТИ КОРПУСА
FIT
1:1
100%

Артикул

Название

Примечание

Количество

|$0

20S-54-00100

OPERATOR'S CAB ASS'Y

1

20T-54-32110

CAB

2

20T-54-43310

COVER

3

01010-50812

BOLT

4

01602-20825

WASHER,SPRING

5

20T-54-32520

SEAL

6

203-54-11290

CATCHER

7

01220-40410

SCREW

8

203-54-11320

PLATE

9

203-54-11310

HOOK

10

20N-54-39980

GRIP

11

01220-40512

SCREW

12

01580-10504

NUT

13

01601-20513

WASHER,SPRING

14

20T-54-32930

BOSS

15

01220-40412

SCREW

16

01601-00410

WASHER,SPRING

17

20T-54-32610

BOARD

18

20T-54-25440

PLATE

19

01220-40410

SCREW

20

01601-00410

WASHER,SPRING

21

01641-20405

WASHER

22

20T-54-32620

FINISHER

23

20T-54-32940

RIVET

24

565-54-13850

POCKET

25

565-54-13860

SADDLE

26

01370-00416

SCREW

27

01611-04045

WASHER

28

20T-54-25340

CATCH

29

01580-10605

NUT

30

01220-40620

SCREW

31

01602-20619

WASHER,SPRING

32

01641-20608

WASHER

33

205-54-51250

HANGER

34

01381-10416

SCREW

35

21K-54-11310

STOPPER

36

01580-11210

NUT

37

08037-01008

GROMMET

38

08037-01610

GROMMET

39

09415-02512

CAP

40

09415-01008

CAP

41

09415-00506

CAP

42

08037-02512

GROMMET

43

01220-40508

SCREW

44

01641-20508

WASHER

45

01010-50610

BOLT

46

01641-20608

WASHER

47

01010-51016

BOLT

48

01643-31032

WASHER

49

01220-40510

SCREW

50

01220-40616

SCREW

51

01641-20508

WASHER

52

01641-20608

WASHER

53

20T-54-32560

SEAT

54

20T-54-32570

SEAT

55

20T-54-32580

SEAT

56

20T-54-32590

SEAT

57

6131-22-3760

BOSS

58

01010-31030

BOLT

59

01602-01030

WASHER,SPRING

60

01642-21016

WASHER

61

01370-00408

SCREW

62

01641-20405

WASHER

Выбрано товаров: 0