Запчасти Komatsu PC20-6 4-Х СЕКЦИОНН. УПРАВЛ-Е VALUE (/) (ПОВОРОТН.¤ НАВЕСН. ОБОРУД) УПРАВЛ-Е РАБОЧИМ ОБОРУДОВАНИЕМ

Схема запчастей Komatsu PC20-6 - 4-Х СЕКЦИОНН. УПРАВЛ-Е VALUE (/) (ПОВОРОТН.¤ НАВЕСН. ОБОРУД) УПРАВЛ-Е РАБОЧИМ ОБОРУДОВАНИЕМ
FIT
1:1
100%

Артикул

Название

Примечание

Количество

|$0

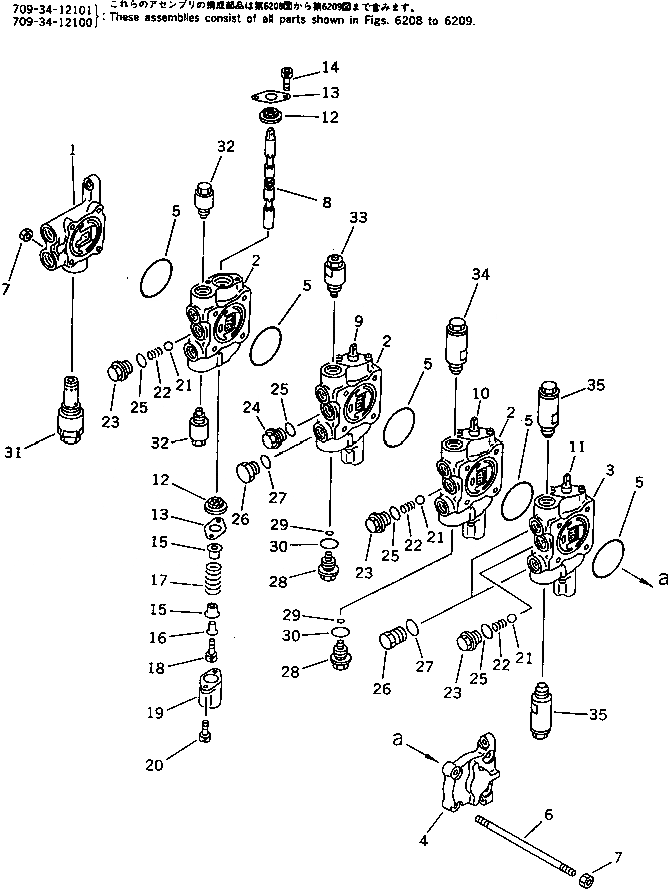
709-34-12101

VALVE ASS'Y

|$1

709-34-12100

VALVE ASS'Y

1

BLOCK

2

BLOCK

3

BLOCK

4

COVER

5

07000-12055

O-RING

6

700-25-11210

STUD

7

01580-10806

NUT

8

SPOOL,SWING

9

SPOOL,TRAVEL SPEED

10

SPOOL,BLADE

11

SPOOL,ATTACHMENT

12

709-32-11530

SEAL,DUST

13

709-32-11540

PLATE

14

01252-30610

BOLT

15

709-32-11550

RETAINER

16

709-32-11560

COLLAR

17

709-32-11580

SPRING

18

01252-30620

BOLT

19

709-32-11570

COVER

20

01252-30616

BOLT

21

04260-01270

BALL

22

709-32-11820

SPRING

23

709-32-11810

PLUG

24

709-32-11930

PLUG

25

07002-11823

O-RING

26

07040-11812

PLUG

27

07002-11823

O-RING

28

709-32-11830

PLUG

29

709-32-11840

O-RING

30

07002-02034

O-RING

31

700-28-56000

RELIEF VALVE ASS'Y

32

709-30-61100

VALVE ASS'Y

33

709-30-65703

VALVE ASS'Y

33

709-30-65702

VALVE ASS'Y

34

709-30-64101

VALVE ASS'Y

34

709-30-63800

VALVE ASS'Y

35

709-30-64500

VALVE ASS'Y

35

709-30-62400

VALVE ASS'Y

Выбрано товаров: 40