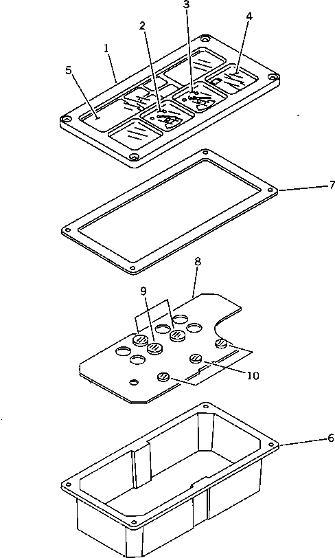
Запчасти Komatsu PC20-6 CLUSTER GAUGE КОМПОНЕНТЫ ДВИГАТЕЛЯ И ЭЛЕКТРИКА

Схема запчастей Komatsu PC20-6 - CLUSTER GAUGE КОМПОНЕНТЫ ДВИГАТЕЛЯ И ЭЛЕКТРИКА
FIT
1:1
100%

Артикул

Название

Примечание

Количество

|1

20S-06-21240

GAUGE ASS'Y

1

KA11245-KA2400

BEZEL

2

KA90413-KA3600

GAUGE,FUEL

3

KA90403-KC7600

GAUGE,WATER TEMPERATURE

4

KA90283-KA2400

METER,SERVICE

5

KA11113-KA2400

LENS,WARNING

6

KA11371-KA2001

HOUSING

7

KA11241-KA1100

GASKET

8

KA11630-KA2400

CIRCUIT ASS'Y

|9

KA11700-EK0100

BULB ASS'Y

9

KA099-11434

BULB¤ 4W

|10

KA11650-KA2400

BULB ASS'Y

10

KA79161-AK3800

BULB¤ 2W

Выбрано товаров: 13