Запчасти Komatsu PC20-6 КОВШ .7M (MINI .M) ШИР. MM (УСИЛЕНН.) (OP) РАБОЧЕЕ ОБОРУДОВАНИЕ

Схема запчастей Komatsu PC20-6 - КОВШ .7M (MINI .M) ШИР. MM (УСИЛЕНН.) (OP) РАБОЧЕЕ ОБОРУДОВАНИЕ
FIT
1:1
100%

Артикул

Название

Примечание

Количество

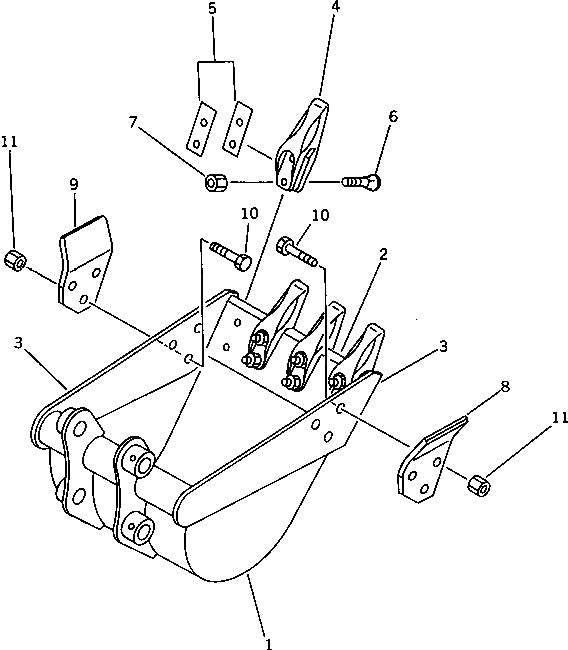
|1

20R-70-00240

BUCKET ASS'Y

G-1

20R-70-X8200

BUCKET GROUP

1

20R-70-42210

BUCKET

2

20R-70-42220

LIP

3

20R-70-42230

PLATE

G-2

20T-70-X4200

TOOTH GROUP

4

20T-70-13130

TOOTH

5

20T-70-05010

SHIM ASS'Y

|5

SHIM¤ 0.5MM

|5

SHIM¤ 1.0MM

6

02090-11060

BOLT

7

02205-11015

NUT

G-3

20R-70-X8300

BUCKET GROUP

8

20U-70-13240

CUTTER,L.H.

9

20U-70-13250

CUTTER,R.H.

10

01802-02262

BOLT

11

08103-02026

NUT

Выбрано товаров: 17