Запчасти Komatsu PC20-6 ОБОГРЕВАТЕЛЬ. ЧАСТИ КОРПУСА

Схема запчастей Komatsu PC20-6 - ОБОГРЕВАТЕЛЬ. ЧАСТИ КОРПУСА
FIT
1:1
100%

Артикул

Название

Примечание

Количество

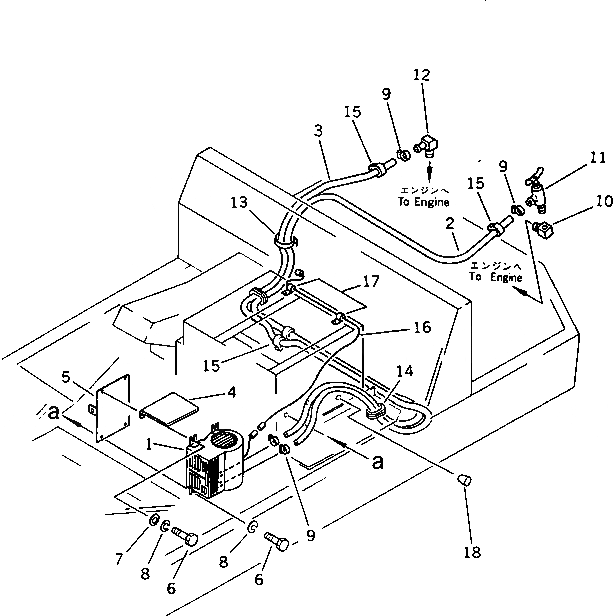
1

20S-06-21460

HEATER ASS'Y

2

09483-00425

HOSE

3

09483-00422

HOSE

4

20S-54-32320

COVER

|4

20S-54-22260

COVER

5

20S-54-32310

BRACKET

|5

20S-06-21470

BRACKET

6

01010-51025

BOLT

7

01643-31032

WASHER

8

01602-21030

WASHER,SPRING

9

09480-10100

CLAMP

10

154-865-1160

ELBOW

11

203-977-4130

VALVE

12

20S-977-1170

ELBOW

13

08034-00414

BAND

14

120-06-24110

GROMMET

15

202-981-1360

BUSHING

16

20S-06-21440

WIRE

17

08036-10610

CLIP

18

07049-01012

PLUG,(FOR CANOPY)

Выбрано товаров: 20