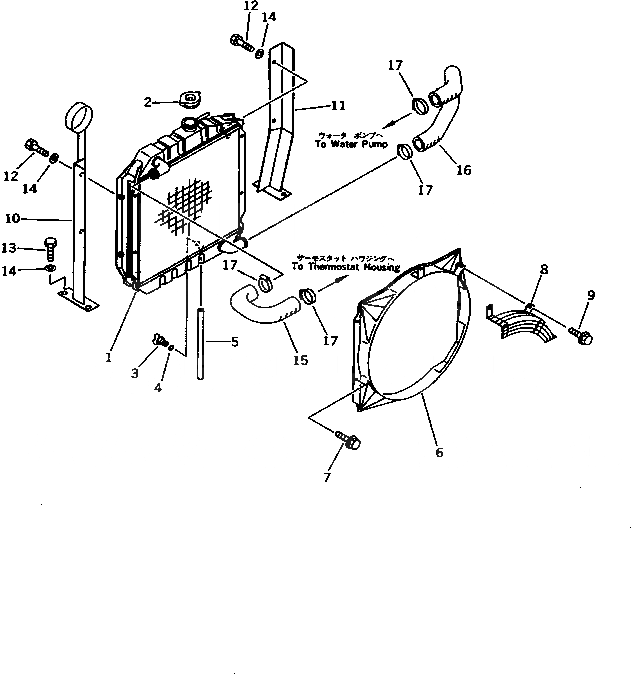
Запчасти Komatsu PC20-7 РАДИАТОР И ТРУБЫ(№-) СИСТЕМА ОХЛАЖДЕНИЯ

Схема запчастей Komatsu PC20-7 - РАДИАТОР И ТРУБЫ(№-) СИСТЕМА ОХЛАЖДЕНИЯ
FIT
1:1
100%

Артикул

Название

Примечание

Количество

1

20N-03-71110

CORE ASS'Y

2

201-03-51310

CAP

3

205-03-62660

PLUG

4

07000-01007

O-RING

5

07270-00829

TUBE

6

20N-03-71210

SHROUD

7

01435-20814

BOLT

8

20N-03-71220

NET

9

01435-20814

BOLT

10

20P-03-71131

BRACKET

11

20P-03-71141

BRACKET

12

01010-50820

BOLT

13

01010-50825

BOLT

14

01643-30823

WASHER

15

20P-03-71120

HOSE

16

20P-03-71111

HOSE

17

07280-03826

CLAMP

Выбрано товаров: 17