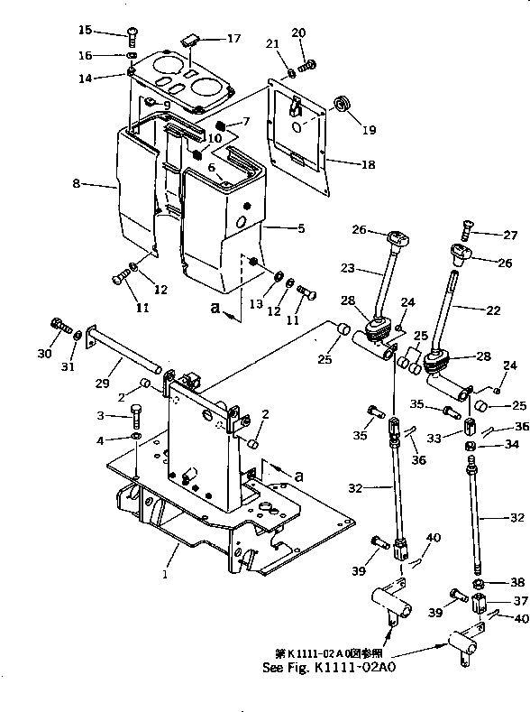
Запчасти Komatsu PC20-7 РЫЧАГ УПРАВЛ-Я ХОДОМ(№-) КАБИНА ОПЕРАТОРА И СИСТЕМА УПРАВЛЕНИЯ

Схема запчастей Komatsu PC20-7 - РЫЧАГ УПРАВЛ-Я ХОДОМ(№-) КАБИНА ОПЕРАТОРА И СИСТЕМА УПРАВЛЕНИЯ
FIT
1:1
100%

Артикул

Название

Примечание

Количество

1

20N-43-71123

BRACKET

2

09350-01615

BUSHING

3

01010-51020

BOLT

4

01643-31032

WASHER

5

20M-43-71171

COVER,L.H.

6

20M-43-71960

NUT

7

20M-43-71941

NUT

8

20M-43-71161

COVER,R.H.

9

20M-43-71960

NUT

10

20M-43-71941

NUT

11

20M-43-71190

SCREW

12

154-61-16570

WASHER

13

21R-54-11710

WASHER

14

20N-43-71111

COVER

15

20N-43-71910

SCREW

16

01642-20508

WASHER

17

20N-43-73290

COVER

18

20M-43-71132

COVER

19

08037-02512

GROMMET

20

20N-43-73270

SCREW

21

01643-30623

WASHER

22

20N-43-71413

LEVER,L.H.

23

20N-43-71443

LEVER,R.H.

24

06600-00805

BUSHING

25

09350-02020

BUSHING

26

20N-43-73310

KNOB

27

01225-40625

SCREW

28

20M-43-71222

BOOT

29

20N-43-71652

PIN

30

01010-50816

BOLT

31

01643-30823

WASHER

32

04248-31041

ROD

33

20T-43-22210

YOKE

34

01582-11008

NUT

35

04205-10822

PIN

36

04050-12015

PIN,COTTER

37

04220-21040

YOKE,L.H. THREAD

38

01508-41006

NUT,L.H. THREAD

39

04205-11028

PIN

40

04050-13020

PIN,COTTER

Выбрано товаров: 40