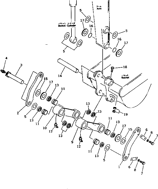
Запчасти Komatsu PC20-7 СОЕДИНЕНИЕ КОВША(№7-) РАБОЧЕЕ ОБОРУДОВАНИЕ

Схема запчастей Komatsu PC20-7 - СОЕДИНЕНИЕ КОВША(№7-) РАБОЧЕЕ ОБОРУДОВАНИЕ
FIT
1:1
100%

Артикул

Название

Примечание

Количество

1

20P-70-71270

LINK,L.H.

2

20P-70-71280

LINK,R.H.

3

20P-70-71380

PIN

4

07020-00000

FITTING,GREASE

5

20N-70-41270

SPACER¤ 1.0MM

6

04082-00212

LOCK

7

01010-51225

BOLT

8

01643-31232

WASHER

|9

20P-70-71801

LINK ASS'Y,L.H.

|9

920P-70-71800

LINK ASS'Y,L.H.

|9

20P-70-71901

LINK ASS'Y,R.H.

|9

920P-70-71900

LINK ASS'Y,R.H.

9

LINK,L.H.

|9

LINK,L.H.

10

LINK,R.H.

|10

LINK,R.H.

11

07144-10304

BUSHING

12

07020-00675

FITTING,GREASE

13

07145-00035

SEAL,DUST

14

20P-70-71370

PIN

15

20N-70-41270

SPACER¤ 1.0MM

16

140-30-16221

O-RING

17

20P-70-71265

SPACER

|17

20P-70-71260

SPACER

18

01010-51285

BOLT

19

01580-11210

NUT

20

20P-70-71295

SPACER

|20

20P-70-71290

SPACER

Выбрано товаров: 28