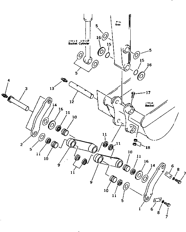
Запчасти Komatsu PC20-7 СОЕДИНЕНИЕ КОВША(№-7) РАБОЧЕЕ ОБОРУДОВАНИЕ

Схема запчастей Komatsu PC20-7 - СОЕДИНЕНИЕ КОВША(№-7) РАБОЧЕЕ ОБОРУДОВАНИЕ
FIT
1:1
100%

Артикул

Название

Примечание

Количество

1

20N-70-41410

LINK,L.H.

2

20N-70-41420

LINK,R.H.

3

20N-70-71561

PIN

4

07020-00000

FITTING,GREASE

5

20N-70-11280

SPACER, 1.0MM

6

04082-00110

LOCK

7

01010-51020

BOLT

8

01643-31032

WASHER

|$8

20N-70-41400

LINK ASS'Y

9

LINK

10

07144-10303

BUSHING

11

07145-00030

SEAL,DUST

12

20N-70-71572

PIN

13

07020-00000

FITTING,GREASE

14

20N-70-11280

SPACER, 1.0MM

15

20D-14-11530

O-RING

16

20M-70-74140

SPACER

17

01010-51075

BOLT

18

01580-11008

NUT

Выбрано товаров: 19