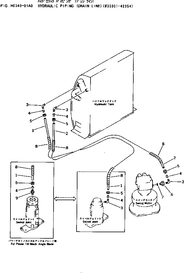
Запчасти Komatsu PC20-7 ГИДРОЛИНИЯ (ВОЗВРАТН. ЛИНИЯ)(№-) ГИДРАВЛИКА

Схема запчастей Komatsu PC20-7 - ГИДРОЛИНИЯ (ВОЗВРАТН. ЛИНИЯ)(№-) ГИДРАВЛИКА
FIT
1:1
100%

Артикул

Название

Примечание

Количество

1

20P-62-72460

TUBE

2

20P-62-72460

TUBE

2

07822-00618

TUBE

3

07834-00613

ELBOW

3

07834-00613

ELBOW,(POWER TILT MECH.ANGLE BLADE)

4

07831-00612

SLEEVE

5

07832-00614

NUT

6

20N-62-72391

NIPPLE

7

07002-12034

O-RING

8

08017-31008

CONDUIT

9

07836-00613

CONNECTOR,(POWER TILT MECH.ANGLE BLADE)

Выбрано товаров: 11