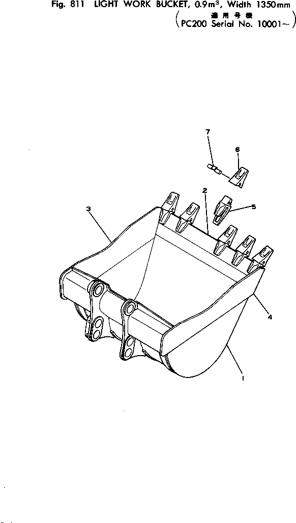
Запчасти Komatsu PC200-1 LIGHT РАБОЧ. КОВШ¤ .9M¤ ШИР. MM ОПЦИОННЫЕ КОМПОНЕНТЫ

Схема запчастей Komatsu PC200-1 - LIGHT РАБОЧ. КОВШ¤ .9M¤ ШИР. MM ОПЦИОННЫЕ КОМПОНЕНТЫ
FIT
1:1
100%

Артикул

Название

Примечание

Количество

1

205-920-6110

BUCKET

2

205-920-6120

PLATE (WELDED)

3

205-920-6130

PLATE (WELDED)

4

205-920-6140

PLATE (WELDED)

5

205-70-59560

ADAPTER (WELDED)

6

205-70-19570

TOOTH

7

09244-02496

PIN

Выбрано товаров: 7