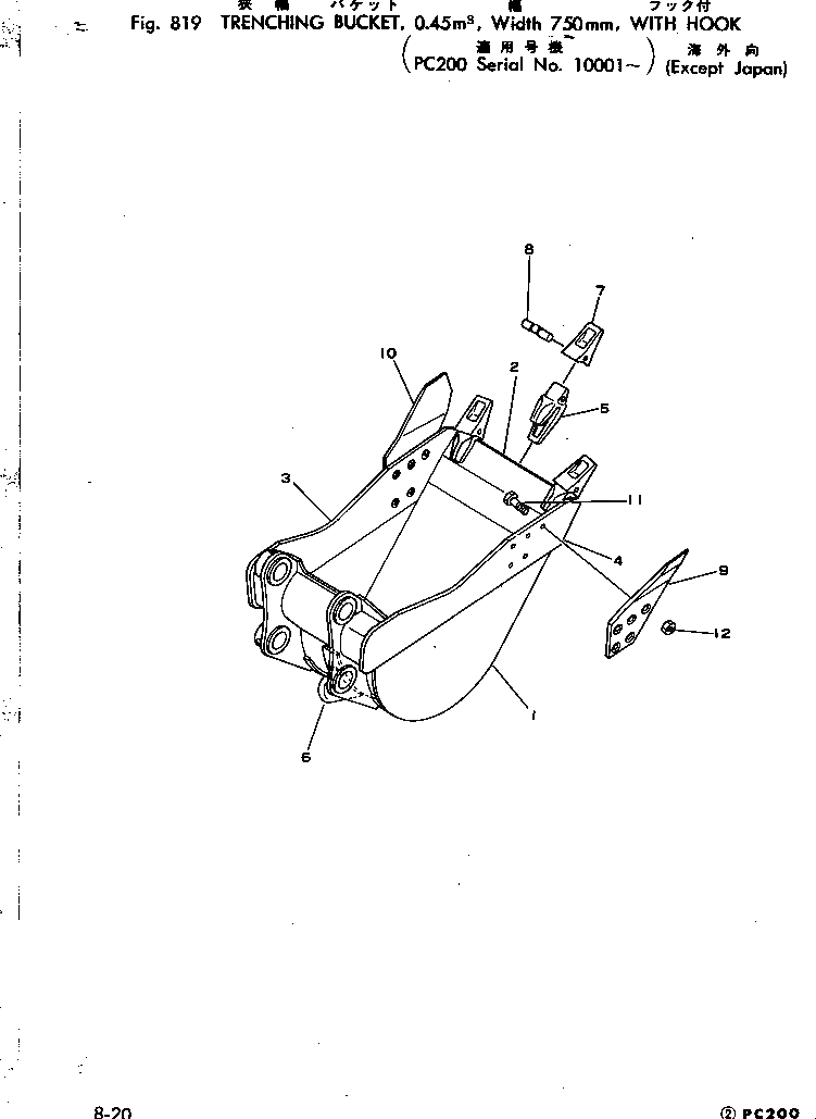
Запчасти Komatsu PC200-1 TRENCHING КОВШ¤ .M¤ ШИР. 7MM¤ С КРЮК (КРОМЕ ЯПОН.) ОПЦИОННЫЕ КОМПОНЕНТЫ

Схема запчастей Komatsu PC200-1 - TRENCHING КОВШ¤ .M¤ ШИР. 7MM¤ С КРЮК (КРОМЕ ЯПОН.) ОПЦИОННЫЕ КОМПОНЕНТЫ
FIT
1:1
100%

Артикул

Название

Примечание

Количество

1

205-926-6130

BUCKET

2

205-926-6120

PLATE (WELDED)

3

205-70-69541

PLATE (WELDED)

4

205-70-69551

PLATE (WELDED)

5

205-70-59560

ADAPTER (WELDED)

6

205-70-69570

HOOK (WELDED)

7

205-70-19570

TOOTH

8

09244-02496

PIN

9

205-70-68171

CUTTER,L.H.

9

205-70-56190

CUTTER,L.H.

10

205-70-68181

CUTTER,R.H.

10

205-70-56210

CUTTER,R.H.

11

175-32-11210

BOLT

12

01803-02430

NUT

Выбрано товаров: 14