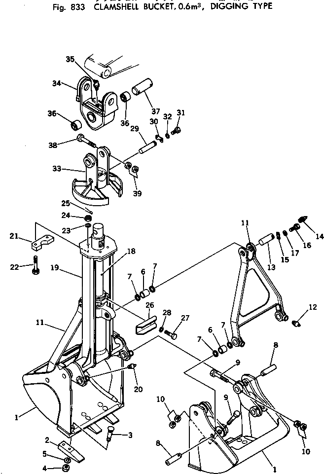
Запчасти Komatsu PC200-1 ГРЕЙФЕРН. КОВШ¤ .M¤ DIGGING ТИП ОПЦИОННЫЕ КОМПОНЕНТЫ

Схема запчастей Komatsu PC200-1 - ГРЕЙФЕРН. КОВШ¤ .M¤ DIGGING ТИП ОПЦИОННЫЕ КОМПОНЕНТЫ
FIT
1:1
100%

Артикул

Название

Примечание

Количество

1

206-931-1160

BUCKET

2

202-931-1180

TOOTH

3

02090-11285

BOLT

4

02290-11219

NUT

5

01643-32060

WASHER

6

07144-10505

BUSHING

7

07145-00050

SEAL

8

206-931-1191

PIN

9

01011-31425

BOLT

10

01580-01411

NUT

11

206-931-1151

LINK

12

07020-00000

FITTING

13

09241-60150

PIN

14

07020-00000

FITTING

15

04082-00212

LOCK

16

01010-31225

BOLT

17

01643-31232

WASHER

18

206-63-96100

CYLINDER ASS'Y

19

206-931-1131

FRAME

20

07020-00000

FITTING

21

206-931-1140

PLATE

22

01013-63020

BOLT

23

01643-33080

WASHER

24

01590-03033

NUT

25

04050-06055

PIN

26

206-931-1171

SUPPORT

27

01010-31430

BOLT

28

01643-31445

WASHER

29

154-70-16270

PIN

30

154-70-16290

LOCK

31

01010-31435

BOLT

32

01643-31445

WASHER

33

206-931-1120

HANGER

34

205-931-6110

BRACKET

35

07020-00675

FITTING

36

205-931-6150

BUSHING

37

205-931-1130

PIN

38

01011-31650

BOLT

39

01580-01613

NUT

Выбрано товаров: 39