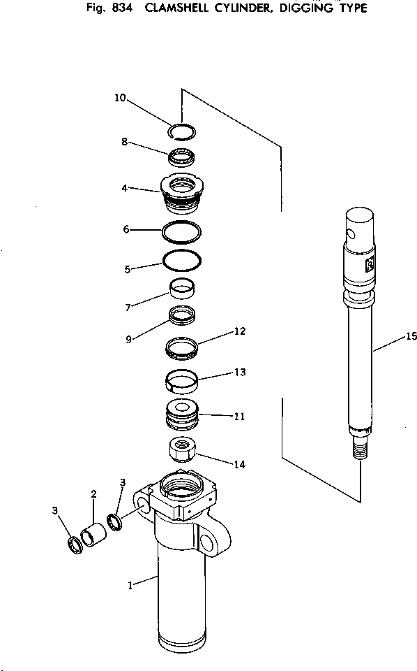
Запчасти Komatsu PC200-1 ГРЕЙФЕРН. ЦИЛИНДР¤ DIGGING ТИП ОПЦИОННЫЕ КОМПОНЕНТЫ

Схема запчастей Komatsu PC200-1 - ГРЕЙФЕРН. ЦИЛИНДР¤ DIGGING ТИП ОПЦИОННЫЕ КОМПОНЕНТЫ
FIT
1:1
100%

Артикул

Название

Примечание

Количество

|$0

206-63-96100

CYLINDER ASS'Y

1

206-63-96140

CYLINDER

2

07143-10606

BUSHING

3

07145-00060

SEAL

4

707-29-13590

HEAD

5

07000-12145

O-RING

6

07146-02146

RING

7

07177-09035

BUSHING

8

195-63-94170

SEAL

9

707-51-90211

PACKING

10

07179-00113

RING

11

205-63-55171

PISTON

12

707-44-13080

RING

13

07155-01330

RING

14

07165-15860

NUT

15

206-63-96120

ROD

Выбрано товаров: 16