Запчасти Komatsu PC200-1 ЭЛЕКТРИКА(№-79) КОМПОНЕНТЫ ДВИГАТЕЛЯ И ЭЛЕКТРИКА

Схема запчастей Komatsu PC200-1 - ЭЛЕКТРИКА(№-79) КОМПОНЕНТЫ ДВИГАТЕЛЯ И ЭЛЕКТРИКА
FIT
1:1
100%

Артикул

Название

Примечание

Количество

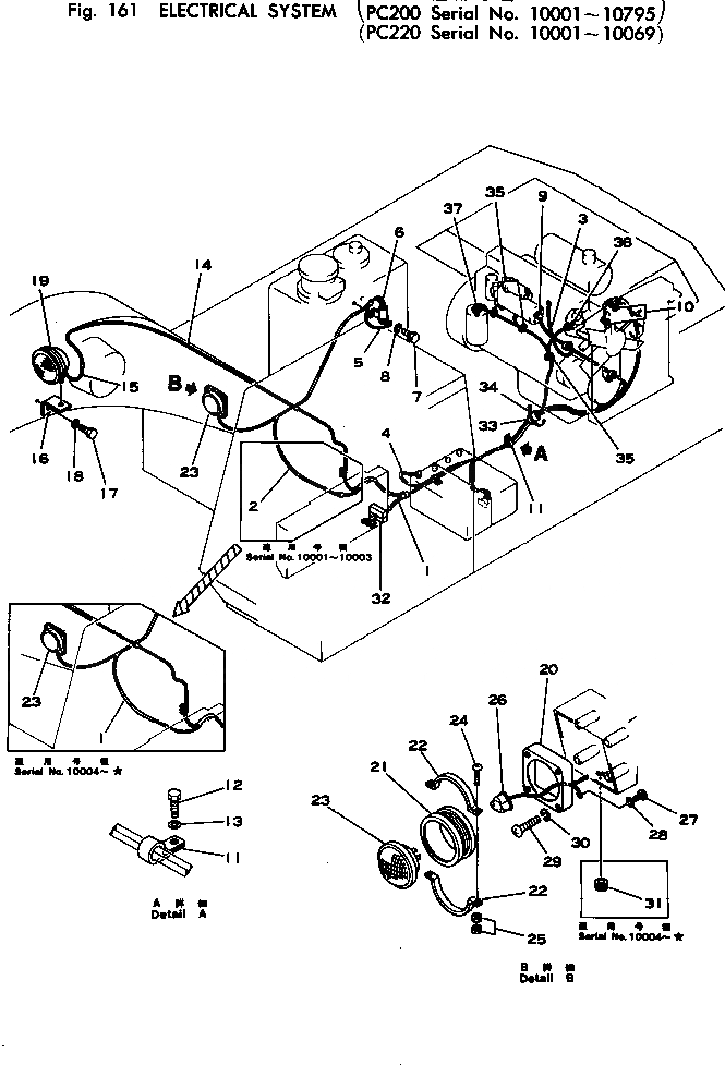
1

205-06-62121

WIRE ASS'Y

1

205-06-62120

WIRE ASS'Y

2

205-06-62131

WIRE ASS'Y

3

205-06-51360

WIRE

4

206-06-11340

WIRE

5

205-06-51350

WIRE

6

205-06-51340

VALVE,HORN

7

01010-30816

BOLT

8

01602-00825

WASHER

9

08038-06031

CAP

10

08038-00519

CAP

11

08036-03014

CLIP

12

01010-31025

BOLT

13

01643-31032

WASHER

14

205-06-51370

WIRE

15

205-06-51390

CABLE

16

203-06-21290

PLATE

17

01010-31430

BOLT

18

01643-31445

WASHER

19

08128-32400

LAMP

19

08113-02480

BULB, 80W

19

08128-00003

HOLDER

|$22

203-06-31300

LAMP ASS'Y

20

203-06-31340

BASE

21

08128-00003

HOLDER

22

08128-00004

BAND

23

08113-02480

BULB, 80W

24

01220-30420

SCREW

25

01580-00403

NUT

26

175-06-23230

SOCKET

27

01220-30408

SCREW

28

01601-00410

WASHER

29

01220-30816

SCREW

30

01602-00825

WASHER

31

08037-01610

GROMMET

31

135-06-34260

GROMMET

32

206-54-15750

SEAL

33

205-62-55780

COVER

34

08034-00519

BAND

35

08034-00414

BAND

36

08620-00000

SENSOR

37

08073-00510

SWITCH,OIL PRESSURE

Выбрано товаров: 42