Запчасти Komatsu PC200-1 ВОДООТДЕЛИТЕЛЬ ОПЦИОННЫЕ КОМПОНЕНТЫ

Схема запчастей Komatsu PC200-1 - ВОДООТДЕЛИТЕЛЬ ОПЦИОННЫЕ КОМПОНЕНТЫ
FIT
1:1
100%

Артикул

Название

Примечание

Количество

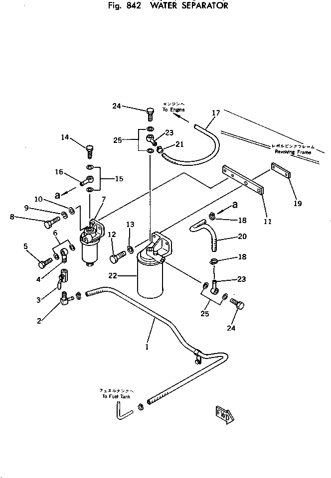
1

205-04-62190

HOSE

2

205-04-62130

ELBOW

3

07700-40240

VALVE

4

205-04-62140

JOINT

5

07206-31014

BOLT

6

07005-01412

GASKET

7

600-311-9800

WATER SEPARATOR A.

8

01010-30830

BOLT

9

01602-00825

WASHER

10

01643-30823

WASHER

11

205-04-62180

PLATE

12

01010-31030

BOLT

12

01010-31040

BOLT,(FOR PRE FILTER)

13

01643-31032

WASHER

14

07206-31014

BOLT

15

07005-01412

GASKET

16

205-04-62150

JOINT

17

205-04-62160

HOSE

18

07281-00197

CLAMP

19

01573-20208

SEAT (WELDED)

20

205-04-81111

HOSE

21

07281-00197

CLAMP

22

600-311-9100

FUEL FILTER ASS'Y

23

205-04-62150

JOINT

24

07206-31014

BOLT

25

07005-01412

GASKET

Выбрано товаров: 26