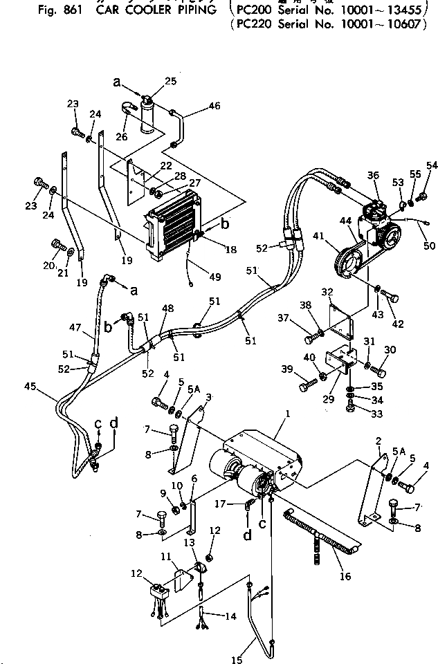
Запчасти Komatsu PC200-1 CAR ЛИНИЯ ОХЛАЖДЕНИЯ(№-) ОПЦИОННЫЕ КОМПОНЕНТЫ

Схема запчастей Komatsu PC200-1 - CAR ЛИНИЯ ОХЛАЖДЕНИЯ(№-) ОПЦИОННЫЕ КОМПОНЕНТЫ
FIT
1:1
100%

Артикул

Название

Примечание

Количество

1

205-981-5110

COOLING UNIT

2

206-988-2140

BRACKET

3

206-988-2150

BRACKET

4

01010-30820

BOLT

5

01602-00825

WASHER

5A

01643-30823

WASHER

6

205-981-5350

BRACKET

7

01010-31230

BOLT

8

01643-31232

WASHER

9

01580-00806

NUT

10

01602-00825

WASHER

11

205-978-6170

BRACKET

12

205-981-5150

PANEL ASS'Y

13

205-981-5160

RELAY

14

203-981-2150

WIRE ASS'Y

15

203-981-2160

WIRE ASS'Y

16

205-981-5170

HOSE

17

205-981-5250

ELBOW

18

205-981-5120

CONDENSER UNIT

19

205-987-6130

BRACKET

20

01010-31230

BOLT

21

01643-31232

WASHER

22

205-978-6141

BRACKET

23

01010-30825

BOLT

24

01602-00825

WASHER

25

566-07-11240

RECEIVER

26

07283-26155

CLIP

27

01599-01011

NUT

28

01643-31032

WASHER

29

21K-978-1110

BRACKET

30

01010-31230

BOLT

31

01643-31232

WASHER

32

205-978-6120

BRACKET

33

01010-31030

BOLT

34

01602-01030

WASHER

35

01643-31032

WASHER

36

205-981-5130

COMPRESSOR ASS'Y

37

01010-30820

BOLT

38

01602-00825

WASHER

39

01016-31060

BOLT

40

01580-01008

NUT

41

205-978-6190

PULLEY

42

01010-31260

BOLT

43

01643-31232

WASHER

44

04120-21742

V-BELT

45

09488-20628

HOSE

46

205-978-6180

TUBE

47

09488-20520

HOSE

48

205-978-6210

HOSE

49

203-981-2140

WIRE ASS'Y

50

205-981-5410

WIRE ASS'Y

51

08034-00536

BAND

51

08034-00536

BAND

52

203-977-3110

COVER

52

203-977-3110

COVER

53

08036-10810

CLIP

54

01010-30816

BOLT

55

01602-00825

WASHER

Выбрано товаров: 58