Запчасти Komatsu PC200-1 ЦИЛИНДР РУКОЯТИ УПРАВЛ-Е РАБОЧИМ ОБОРУДОВАНИЕМ

Схема запчастей Komatsu PC200-1 - ЦИЛИНДР РУКОЯТИ УПРАВЛ-Е РАБОЧИМ ОБОРУДОВАНИЕМ
FIT
1:1
100%

Артикул

Название

Примечание

Количество

|$0

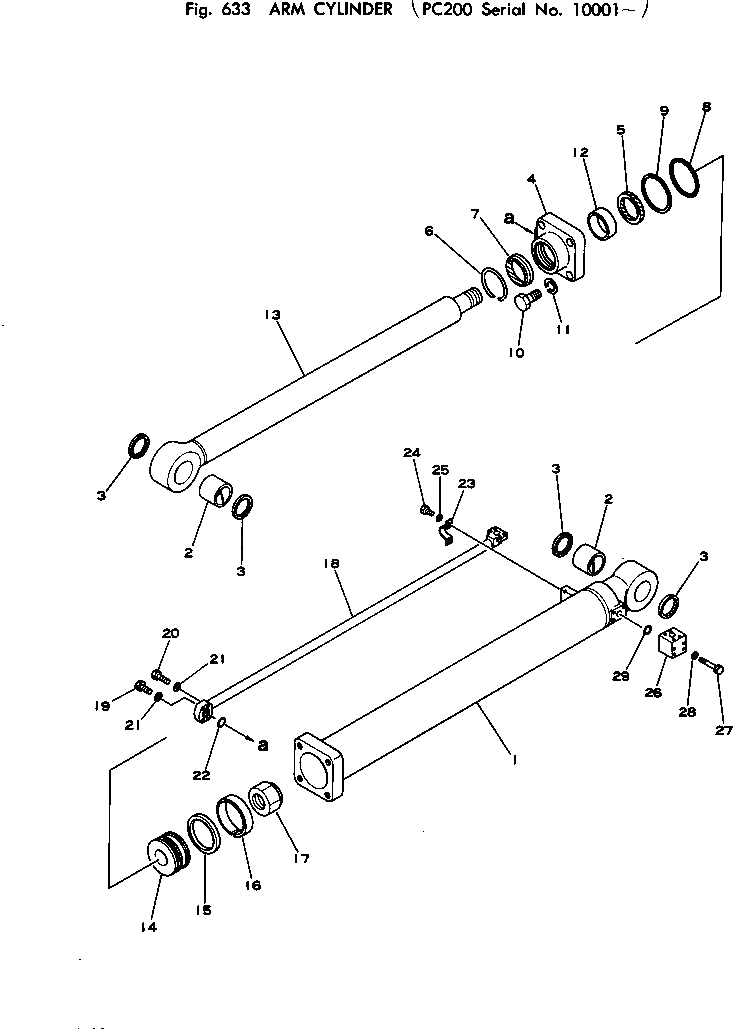
205-63-65101

ARM CYLINDER ASS'Y

1

205-63-65141

CYLINDER

2

205-63-65270

BUSHING

3

07145-00080

SEAL

4

205-63-65132

HEAD

5

707-51-10211

PACKING

6

07179-00123

RING

7

176-63-56170

SEAL

8

07000-12145

O-RING

9

07146-02146

RING

10

01011-83000

BOLT

11

01601-03075

WASHER

12

07177-01040

BUSHING

13

205-63-65121

ROD

14

205-63-65171

PISTON

15

707-44-15080

RING

16

07155-01535

RING

17

07165-16870

NUT

18

205-62-64580

TUBE

19

01010-51055

BOLT

20

01010-51060

BOLT

21

01643-31032

WASHER

22

07000-13035

O-RING

23

07282-03411

CLAMP

24

01010-51020

BOLT

25

01643-31032

WASHER

26

205-62-64240

ELBOW

27

01010-51090

BOLT

28

01643-31032

WASHER

29

07000-13035

O-RING

Выбрано товаров: 30