Запчасти Komatsu PC200-1 ИЗ НАСОСА В КЛАПАН ТРУБЫ (/) УПРАВЛ-Е РАБОЧИМ ОБОРУДОВАНИЕМ

Схема запчастей Komatsu PC200-1 - ИЗ НАСОСА В КЛАПАН ТРУБЫ (/) УПРАВЛ-Е РАБОЧИМ ОБОРУДОВАНИЕМ
FIT
1:1
100%

Артикул

Название

Примечание

Количество

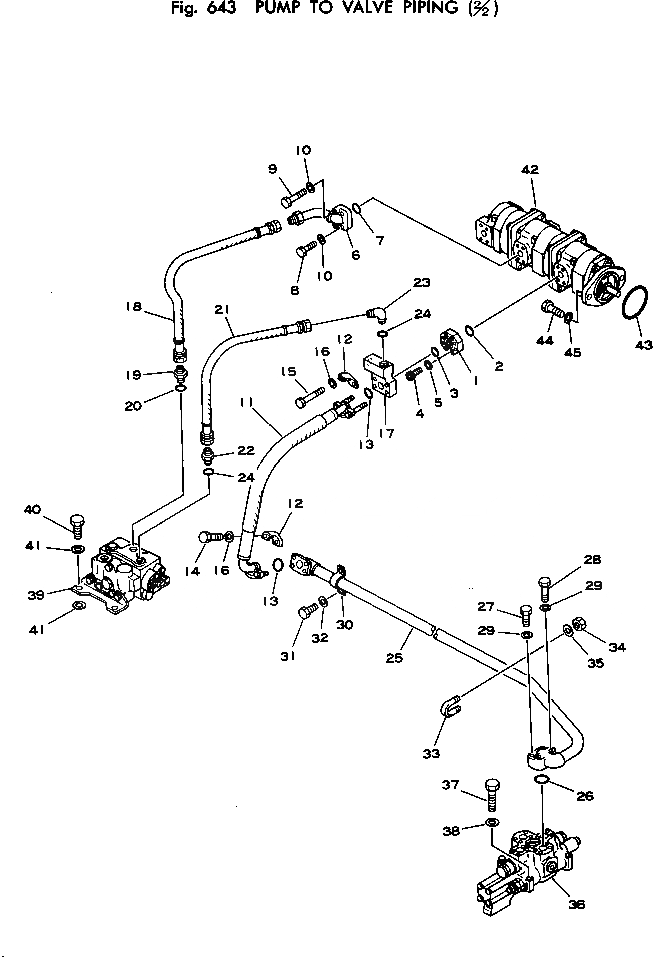
1

205-62-62780

FLANGE

2

07000-13030

O-RING

3

07000-13025

O-RING

4

01252-30825

BOLT

5

01643-50823

WASHER

5

01602-00825

WASHER

6

205-62-62811

TUBE

7

07000-13030

O-RING

8

01010-30840

BOLT

9

01010-30850

BOLT

10

01643-50823

WASHER

10

01602-00825

WASHER

11

07126-01007

HOSE

12

07371-31049

FLANGE

13

07000-13032

O-RING

14

01010-31035

BOLT

15

01018-11065

BOLT

15

01010-31065

BOLT

16

01643-31032

WASHER

16

01602-01030

WASHER

17

205-62-62231

BLOCK

18

07106-20607

HOSE

19

202-62-14170

NIPPLE

20

07002-13334

O-RING

21

07121-00609

HOSE

22

07230-10628

UNION

23

07235-10628

ELBOW

24

07002-12434

O-RING

25

206-62-41480

TUBE

26

07000-13035

O-RING

27

01010-31045

BOLT

28

01010-31055

BOLT

29

01643-31032

WASHER

30

07282-03411

CLAMP

31

01010-31020

BOLT

32

01643-31032

WASHER

33

07283-23442

CLIP

34

01599-01011

NUT

35

01643-31032

WASHER

36

700-91-13000

CONTROL VALVE ASS'Y

36

700-91-14000

CONTROL VALVE ASS'Y

37

01010-51280

BOLT

38

01643-31232

WASHER

39

702-15-13002

PILOT VALVE ASS'Y

39

702-15-18000

PILOT VALVE ASS'Y

40

01010-31230

BOLT

41

01643-31232

WASHER

42

705-56-24020

PUMP ASS'Y

42

705-56-24030

PUMP ASS'Y

43

07000-02105

O-RING

44

01010-31235

BOLT

45

01643-31232

WASHER

Выбрано товаров: 52