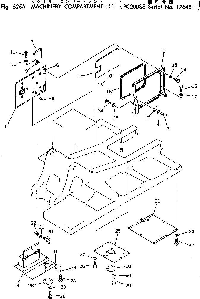
Запчасти Komatsu PC200-2 MACHINERY ОБСТАНОВКА (/7) (PCSS)(№7-) ОСНОВНАЯ РАМА И КАБИНА

Схема запчастей Komatsu PC200-2 - MACHINERY ОБСТАНОВКА (/7) (PCSS)(№7-) ОСНОВНАЯ РАМА И КАБИНА
FIT
1:1
100%

Артикул

Название

Примечание

Количество

|$0

205-54-00141

DOOR ASS'Y

1

205-54-85671

FRAME

2

205-54-88690

PLATE

3

01010-51225

BOLT

4

01643-31232

WASHER

5

205-54-85660

DOOR

6

205-54-64160

HINGE (WELDED)

7

205-54-64140

BAR

8

04050-13018

PIN,COTTER

9

20B-54-12210

SPRING

10

01220-40408

SCREW

11

01641-20405

WASHER

12

205-54-87891

GLASS WOOL

13

04431-30000

PLATE

14

01010-51225

BOLT

15

01643-31232

WASHER

16

01010-51230

BOLT

17

01643-31232

WASHER

18

205-54-87361

SEAL

19

205-54-85540

CASE

20

01434-00820

BOLT, WING,WING

21

01602-20825

WASHER,SPRING

22

01643-30823

WASHER

23

01010-51230

BOLT

24

01643-31232

WASHER

25

205-54-85840

COVER

26

01010-51230

BOLT

27

01643-31232

WASHER

28

205-54-83760

COVER

29

01010-51025

BOLT

30

01643-31032

WASHER

31

205-54-85741

COVER

32

01010-51230

BOLT

33

01643-31232

WASHER

34

01010-51020

BOLT

35

01643-31032

WASHER

Выбрано товаров: 0