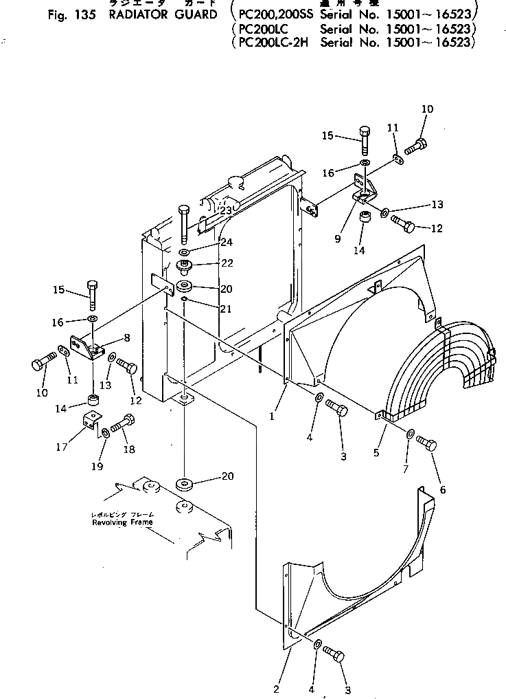
Запчасти Komatsu PC200-2 ЗАЩИТА РАДИАТОРА(№-) КОМПОНЕНТЫ ДВИГАТЕЛЯ И ЭЛЕКТРИКА

Схема запчастей Komatsu PC200-2 - ЗАЩИТА РАДИАТОРА(№-) КОМПОНЕНТЫ ДВИГАТЕЛЯ И ЭЛЕКТРИКА
FIT
1:1
100%

Артикул

Название

Примечание

Количество

1

205-03-62442

SHROUD

2

205-03-62452

SHROUD

3

01010-51020

BOLT

4

01643-31032

WASHER

5

205-03-62462

GUARD

5

205-03-62461

GUARD

6

01010-51025

BOLT

7

01643-31032

WASHER

8

206-03-43280

BRACKET

9

206-03-43290

BRACKET

10

01010-51240

BOLT

11

205-03-62710

WASHER

12

01010-51260

BOLT

13

01643-31232

WASHER

14

135-03-12110

DAMPER

15

01010-51260

BOLT

16

01643-31232

WASHER

17

205-03-62581

BRACKET

18

01010-51225

BOLT

19

01643-31232

WASHER

20

205-03-62680

CUSHION

21

07000-03022

O-RING

22

206-03-43270

COLLAR

23

01010-51285

BOLT

24

01643-31232

WASHER

Выбрано товаров: 0