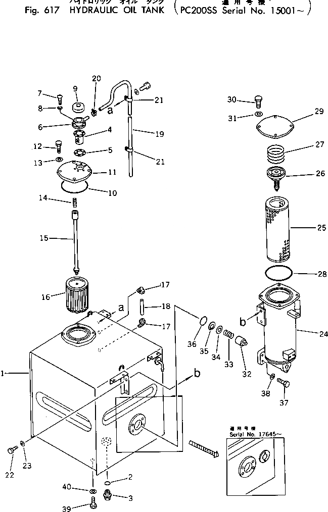
Запчасти Komatsu PC200-2 ГИДРАВЛ МАСЛ. БАК (PCSS) УПРАВЛ-Е РАБОЧИМ ОБОРУДОВАНИЕМ

Схема запчастей Komatsu PC200-2 - ГИДРАВЛ МАСЛ. БАК (PCSS) УПРАВЛ-Е РАБОЧИМ ОБОРУДОВАНИЕМ
FIT
1:1
100%

Артикул

Название

Примечание

Количество

|$0

205-60-00071

HYDRAULIC TANK ASS'Y

|$1

205-60-00070

HYDRAULIC TANK ASS'Y

1

205-60-81121

TANK

1

205-60-81120

TANK

2

07002-03634

O-RING

3

07044-13620

PLUG

4

205-60-51480

SCREEN

5

205-60-51460

GASKET

6

201-60-12171

FILLER

7

01220-40516

SCREW

8

01601-00513

WASHER

9

201-60-12190

CAP ASS'Y

10

07000-05180

O-RING

11

203-60-31192

COVER

12

01010-31035

BOLT

13

01643-31032

WASHER

14

12R-60-11230

SPRING

15

205-60-65220

SUPPORT

16

205-60-51450

STRAINER

17

203-60-31100

ELBOW ASS'Y

18

203-60-31160

TUBE

19

203-60-12170

TUBE

20

07280-01110

CLAMP

21

08036-01414

CLIP

22

01010-31225

BOLT

23

01643-31232

WASHER

|$26

205-60-00042

HYDRAULIC FILTER A.,OIL

24

205-60-65241

CASE

25

205-60-51430

ELEMENT

26

12R-60-11300

VALVE ASS'Y

27

12R-60-11390

SPRING

28

07000-05180

O-RING

29

205-60-65130

COVER

30

01010-31230

BOLT

31

01643-31232

WASHER

32

205-60-65250

POPPET

33

135-60-17110

SPRING

34

205-60-65260

SEAT

35

04065-05020

RING

36

07000-02070

O-RING

37

01010-31245

BOLT

38

01643-31232

WASHER

39

01010-31635

BOLT

40

01643-31645

WASHER

Выбрано товаров: 44