Запчасти Komatsu PC200-2 ПАНЕЛЬ ПРИБОРОВ (/) КОМПОНЕНТЫ ДВИГАТЕЛЯ И ЭЛЕКТРИКА

Схема запчастей Komatsu PC200-2 - ПАНЕЛЬ ПРИБОРОВ (/) КОМПОНЕНТЫ ДВИГАТЕЛЯ И ЭЛЕКТРИКА
FIT
1:1
100%

Артикул

Название

Примечание

Количество

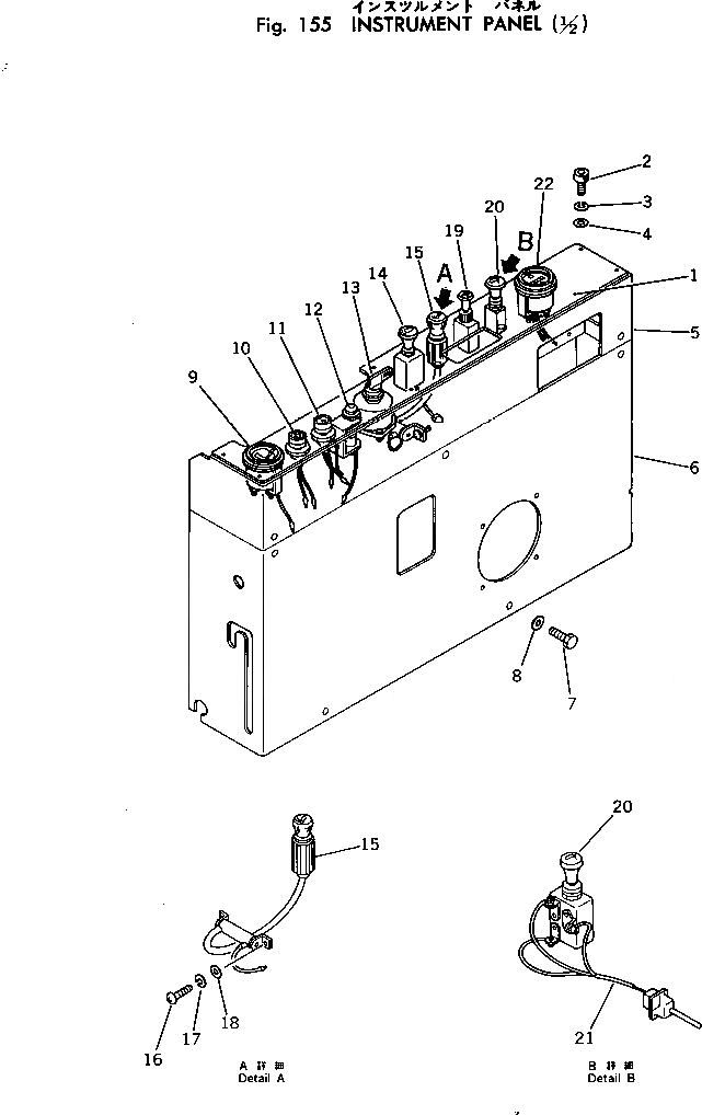
1

205-06-62410

PANEL

2

205-06-62170

BOLT

3

205-06-62180

WASHER

4

205-06-62190

WASHER

5

205-06-62421

COVER

6

205-06-62431

COVER

7

01010-50820

BOLT

8

01643-30823

WASHER

9

208-06-11280

GAUGE,WATER TEMPERATURE

10

125-06-22210

LAMP,OIL PRESSURE

10

08111-02430

BULB, 3W

11

125-06-22220

LAMP,CHARGE

11

08111-02430

BULB, 3W

12

600-815-2371

SIGNAL,HEATER

13

08087-10000

SWITCH,STARTING

14

08061-40010

SWITCH,LAMP

15

195-822-6151

LIGHTER,CIGARETTE

16

01220-40412

SCREW

17

01601-20410

WASHER

18

01641-20405

WASHER

19

09481-02400

SWITCH,HEATER

20

08183-00000

SWITCH,WIPER

21

205-06-61290

WIRE ASS'Y

22

08687-22401

METER,SERVICE

Выбрано товаров: 24