Запчасти Komatsu PC200-2 ПАНЕЛЬ ПРИБОРОВ (/) (P.O.C. MODEL) (КРОМЕ ЯПОН.)(№-9) КОМПОНЕНТЫ ДВИГАТЕЛЯ И ЭЛЕКТРИКА

Схема запчастей Komatsu PC200-2 - ПАНЕЛЬ ПРИБОРОВ (/) (P.O.C. MODEL) (КРОМЕ ЯПОН.)(№-9) КОМПОНЕНТЫ ДВИГАТЕЛЯ И ЭЛЕКТРИКА
FIT
1:1
100%

Артикул

Название

Примечание

Количество

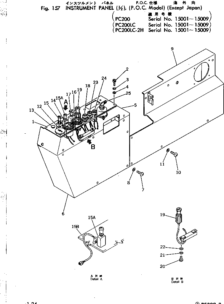
1

205-06-64110

PANEL

2

205-06-62170

BOLT

3

205-06-62180

WASHER

4

205-06-62190

WASHER

5

205-06-64120

COVER

6

205-06-64130

COVER

7

01220-40816

SCREW

8

01643-30823

WASHER

9

205-06-64150

COVER

10

01220-40816

SCREW

11

01643-30823

WASHER

12

09414-00053

CAP

13

09415-01008

CAP

14

08687-22401

METER,SERVICE

15

09481-02400

SWITCH,HEATER

15A

08183-00000

SWITCH,WIPER

15B

205-06-61290

WIRE ASS'Y

16

208-06-11280

GAUGE,WATER TEMPERATURE

17

08061-40010

SWITCH,LAMP

18

125-06-22220

LAMP,CHARGE

18

08111-02430

BULB, 3W

19

195-822-6151

LIGHTER,CIGARETTE

20

01220-40412

SCREW

21

01601-20410

WASHER

22

01641-20405

WASHER

23

125-06-22210

LAMP,OIL PRESSURE

23

08111-02430

BULB, 3W

24

600-815-2371

SIGNAL,HEATER

25

08087-10000

SWITCH,STARTING

Выбрано товаров: 0