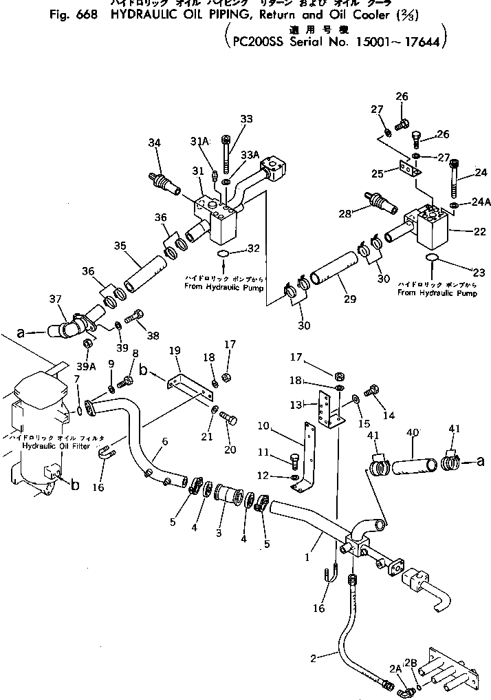
Запчасти Komatsu PC200-2 HYD. МАСЛОПРОВОДЯЩАЯ ЛИНИЯ (ВОЗВРАТ. И МАСЛООХЛАДИТЕЛЬ) (/) (PCSS)(№-7) УПРАВЛ-Е РАБОЧИМ ОБОРУДОВАНИЕМ

Схема запчастей Komatsu PC200-2 - HYD. МАСЛОПРОВОДЯЩАЯ ЛИНИЯ (ВОЗВРАТ. И МАСЛООХЛАДИТЕЛЬ) (/) (PCSS)(№-7) УПРАВЛ-Е РАБОЧИМ ОБОРУДОВАНИЕМ
FIT
1:1
100%

Артикул

Название

Примечание

Количество

1

205-62-82590

TUBE

2

07102-20306

HOSE

2A

07235-10315

ELBOW

2B

07002-12034

O-RING

3

07332-01400

COUPLING ASS'Y

4

07332-51400

GASKET

5

07332-61400

CLAMP

6

205-62-67621

TUBE

7

07000-03045

O-RING

8

01010-51235

BOLT

9

01643-31232

WASHER

10

205-62-68220

BRACKET

11

01010-51025

BOLT

12

01643-31032

WASHER

13

205-62-67592

BRACKET

14

01010-51025

BOLT

15

01643-31032

WASHER

16

07283-24949

CLIP

17

01599-01011

NUT

18

01643-31032

WASHER

19

205-62-68570

PLATE

20

01010-51230

BOLT

21

01643-31232

WASHER

22

205-62-82370

BLOCK

23

07000-13038

O-RING

24

205-62-82480

BOLT

24A

01643-51032

WASHER

25

205-62-82840

PLATE

26

01010-51030

BOLT

27

01643-31032

WASHER

28

700-92-55000

RELIEF VALVE ASS'Y

29

205-62-82280

HOSE

30

207-09-11110

CLAMP

31

205-62-82470

BLOCK

31A

07042-30108

PLUG

32

07000-13038

O-RING

33

205-62-82480

BOLT

33A

01643-51032

WASHER

34

700-92-55000

RELIEF VALVE ASS'Y

35

205-62-68330

HOSE

36

208-09-11110

CLAMP

37

205-62-82580

TUBE

38

01010-51035

BOLT

39

01643-31032

WASHER

39A

01580-11008

NUT

40

205-62-68330

HOSE

41

208-09-11110

CLAMP

Выбрано товаров: 47