Запчасти Komatsu PC200-2 ПРЕДУПРЕЖД. ПЕРЕГРУЗКИ (/) (СПЕЦ-Я TBG) ОПЦИОННЫЕ КОМПОНЕНТЫ

Схема запчастей Komatsu PC200-2 - ПРЕДУПРЕЖД. ПЕРЕГРУЗКИ (/) (СПЕЦ-Я TBG) ОПЦИОННЫЕ КОМПОНЕНТЫ
FIT
1:1
100%

Артикул

Название

Примечание

Количество

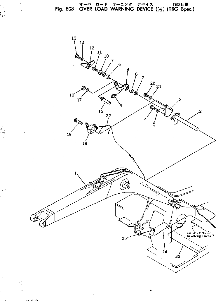
1

205-70-65940

BOOM

2

205-70-65930

PIN

3

205-70-65860

BRACKET

4

01010-51230

BOLT

5

01643-31232

WASHER

6

06120-03020

BEARING

7

06122-03004

SEAL

8

205-70-65870

LEVER

9

07020-00000

FITTING

10

205-70-65890

WASHER

11

01010-51225

BOLT

12

205-70-65880

CAM

13

01010-50825

BOLT

14

01643-30823

WASHER

15

205-70-65920

PIN

16

01580-11613

NUT

17

01643-31645

WASHER

18

205-62-69240

SWITCH

19

01252-40616

BOLT

20

01220-40612

SCREW

21

01602-20619

WASHER

22

205-06-62661

WIRE ASS'Y

23

205-06-62611

WIRE

24

205-06-62651

WIRE ASS'Y

25

08147-22400

LAMP

25

08111-02430

BULB, 3W

Выбрано товаров: 0