Запчасти Komatsu PC200-2 ДОПОЛН. ГИДРОЛИНИЯ (НАВЕСН. ОБОРУД) (/)(№-8) ОПЦИОННЫЕ КОМПОНЕНТЫ

Схема запчастей Komatsu PC200-2 - ДОПОЛН. ГИДРОЛИНИЯ (НАВЕСН. ОБОРУД) (/)(№-8) ОПЦИОННЫЕ КОМПОНЕНТЫ
FIT
1:1
100%

Артикул

Название

Примечание

Количество

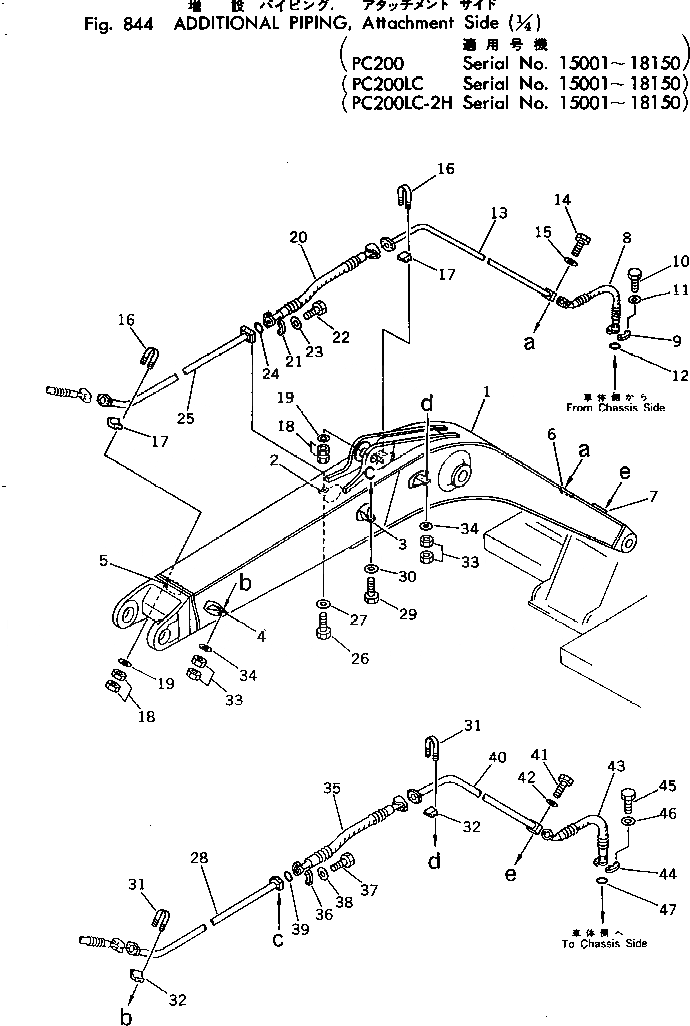
1

205-970-5680

BOOM

2

205-970-1150

BRACKET (WELDED)

3

205-970-1160

BRACKET (WELDED)

4

205-970-1540

BRACKET (WELDED)

5

205-970-1550

BRACKET (WELDED)

6

205-970-2221

PLATE (WELDED)

7

202-970-2231

PLATE (WELDED)

8

07120-01013

HOSE

9

07371-31049

FLANGE

10

07372-21035

BOLT

11

01643-51032

WASHER

12

07000-13032

O-RING

13

205-970-5620

TUBE

14

01010-61270

BOLT

15

01643-31232

WASHER

16

205-970-1660

CLIP

17

205-970-1670

SEAT

18

01582-11411

NUT

19

01643-31445

WASHER

20

07127-01012

HOSE

21

07371-31049

FLANGE

22

07372-21035

BOLT

23

01643-51032

WASHER

24

07000-13032

O-RING

25

205-970-5630

TUBE

26

01010-61230

BOLT

27

01643-31232

WASHER

28

205-970-5660

TUBE

29

01010-61230

BOLT

30

01643-31232

WASHER

31

205-970-1680

CLIP

32

205-970-1690

SEAT

33

01582-11411

NUT

34

01643-31445

WASHER

35

07089-02012

HOSE

36

07371-32076

FLANGE

37

07372-21240

BOLT

38

01643-51232

WASHER

39

07000-12060

O-RING

40

205-970-5670

TUBE

41

01011-61210

BOLT

42

01643-31232

WASHER

43

07087-02014

HOSE

44

07371-32076

FLANGE

45

07372-21240

BOLT

46

01643-51232

WASHER

47

07000-12060

O-RING

Выбрано товаров: 47