Запчасти Komatsu PC200-2 ДОПОЛН. ГИДРОЛИНИЯ (НАВЕСН. ОБОРУД) (/)(№-8) ОПЦИОННЫЕ КОМПОНЕНТЫ

Схема запчастей Komatsu PC200-2 - ДОПОЛН. ГИДРОЛИНИЯ (НАВЕСН. ОБОРУД) (/)(№-8) ОПЦИОННЫЕ КОМПОНЕНТЫ
FIT
1:1
100%

Артикул

Название

Примечание

Количество

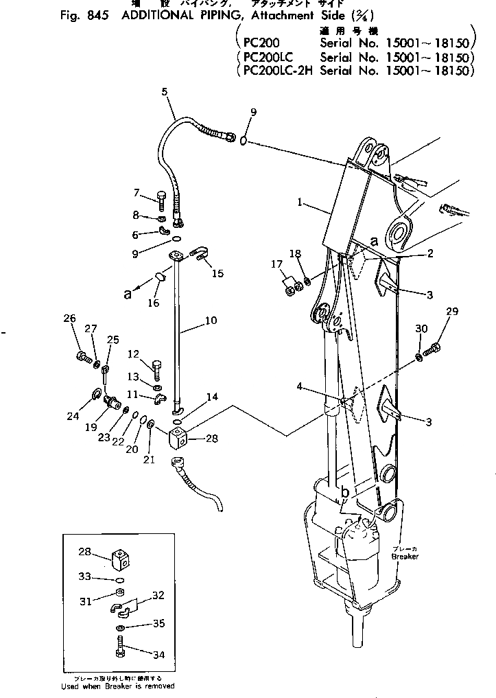
1

205-970-5690

ARM

2

205-970-4370

BRACKET (WELDED)

3

205-970-1520

BRACKET (WELDED)

4

205-970-4630

BRACKET (WELDED)

5

07127-21016

HOSE

6

07371-31049

FLANGE

7

07372-21035

BOLT

8

01643-51032

WASHER

9

07000-13032

O-RING

10

205-970-5640

TUBE

11

07371-31049

FLANGE

12

07372-21035

BOLT

13

01643-51032

WASHER

14

07000-13032

O-RING

15

205-970-1660

CLIP

16

205-970-1670

SEAT

17

01582-11411

NUT

18

01643-31445

WASHER

19

205-970-4270

ROTOR

20

07000-13048

O-RING

21

07001-03048

RING

22

07000-13042

O-RING

23

07001-03042

RING

24

04065-04818

RING

25

202-970-2210

PIN

26

01010-51230

BOLT

27

01643-31232

WASHER

28

205-970-4260

BODY

29

01010-61635

BOLT

30

01643-31645

WASHER

31

07378-11000

HEAD

32

07371-31049

FLANGE

33

07000-13032

O-RING

34

07372-01035

BOLT

35

01643-51032

WASHER

Выбрано товаров: 35