Запчасти Komatsu PC200-2 ДОПОЛН. ГИДРОЛИНИЯ (НАВЕСН. ОБОРУД) (/)(№8-) ОПЦИОННЫЕ КОМПОНЕНТЫ

Схема запчастей Komatsu PC200-2 - ДОПОЛН. ГИДРОЛИНИЯ (НАВЕСН. ОБОРУД) (/)(№8-) ОПЦИОННЫЕ КОМПОНЕНТЫ
FIT
1:1
100%

Артикул

Название

Примечание

Количество

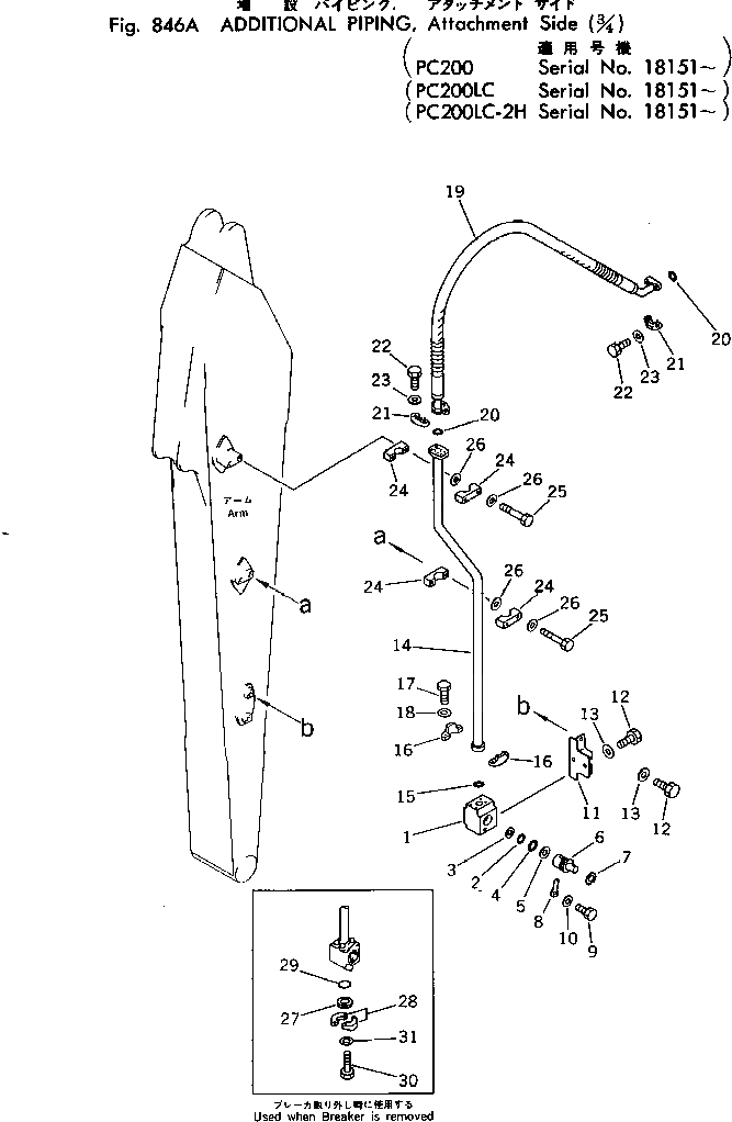
1

205-970-4260

BODY

2

07000-13048

O-RING

3

07001-03048

RING

4

07000-13042

O-RING

5

07001-03042

RING

6

205-970-4270

ROTOR

7

04065-05220

RING

8

202-970-2210

PIN

9

01010-51230

BOLT

10

01643-31232

WASHER

11

205-970-6141

BRACKET

12

01010-61635

BOLT

13

01643-31645

WASHER

14

205-970-5652

TUBE

15

07000-13032

O-RING

16

07371-31049

FLANGE

17

07372-21035

BOLT

18

01643-51032

WASHER

19

07087-21016

HOSE

20

07000-13032

O-RING

21

07371-31049

FLANGE

22

07372-21035

BOLT

23

01643-51032

WASHER

24

205-970-2232

CLAMP

25

01010-61285

BOLT

26

01643-31232

WASHER

27

07378-11000

HEAD

28

07371-31049

FLANGE

29

07000-13032

O-RING

30

07372-21035

BOLT

31

01643-51032

WASHER

Выбрано товаров: 31