Запчасти Komatsu PC200-2 ВОДООТДЕЛИТЕЛЬ И ТРУБЫ ОПЦИОННЫЕ КОМПОНЕНТЫ

Схема запчастей Komatsu PC200-2 - ВОДООТДЕЛИТЕЛЬ И ТРУБЫ ОПЦИОННЫЕ КОМПОНЕНТЫ
FIT
1:1
100%

Артикул

Название

Примечание

Количество

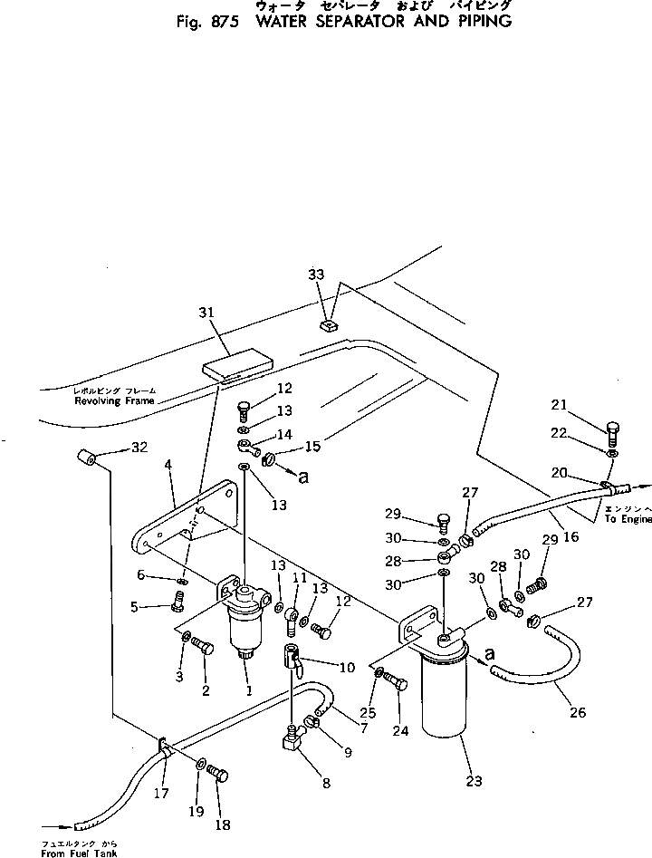
1

600-311-9800

WATER SEPARATOR A.

2

01010-50830

BOLT

3

01643-30823

WASHER

4

205-04-62320

BRACKET

5

01010-51025

BOLT

6

01643-31032

WASHER

7

205-04-62310

HOSE

8

205-04-62130

ELBOW

9

07281-00197

CLAMP

10

07700-40240

VALVE

11

205-04-62140

JOINT

12

07206-31014

BOLT

13

07005-01412

GASKET

14

205-04-62150

JOINT

15

07281-00197

CLAMP

16

202-04-41110

HOSE

17

08036-01814

CLIP

18

01010-51025

BOLT

19

01643-31032

WASHER

20

21T-68-11320

CLIP

21

01010-51025

BOLT

22

01643-31032

WASHER

23

600-311-9100

FUEL FILTER ASS'Y

24

01010-51035

BOLT

25

01643-31032

WASHER

26

205-04-62290

HOSE

27

07281-00197

CLAMP

28

205-04-62150

JOINT

29

07206-31014

BOLT

30

07005-01412

GASKET

31

01573-20208

SEAT (WELDED)

32

154-54-18510

SEAT (WELDED)

33

01572-21019

SEAT (WELDED)

Выбрано товаров: 33