Запчасти Komatsu PC200-2 СТРЕЛА (ДЛЯ FEET УДЛИНН. РУКОЯТЬ И СТРЕЛА) ОПЦИОННЫЕ КОМПОНЕНТЫ (СПЕЦ. APPLICATION ЧАСТИ)

Схема запчастей Komatsu PC200-2 - СТРЕЛА (ДЛЯ FEET УДЛИНН. РУКОЯТЬ И СТРЕЛА) ОПЦИОННЫЕ КОМПОНЕНТЫ (СПЕЦ. APPLICATION ЧАСТИ)
FIT
1:1
100%

Артикул

Название

Примечание

Количество

|$0

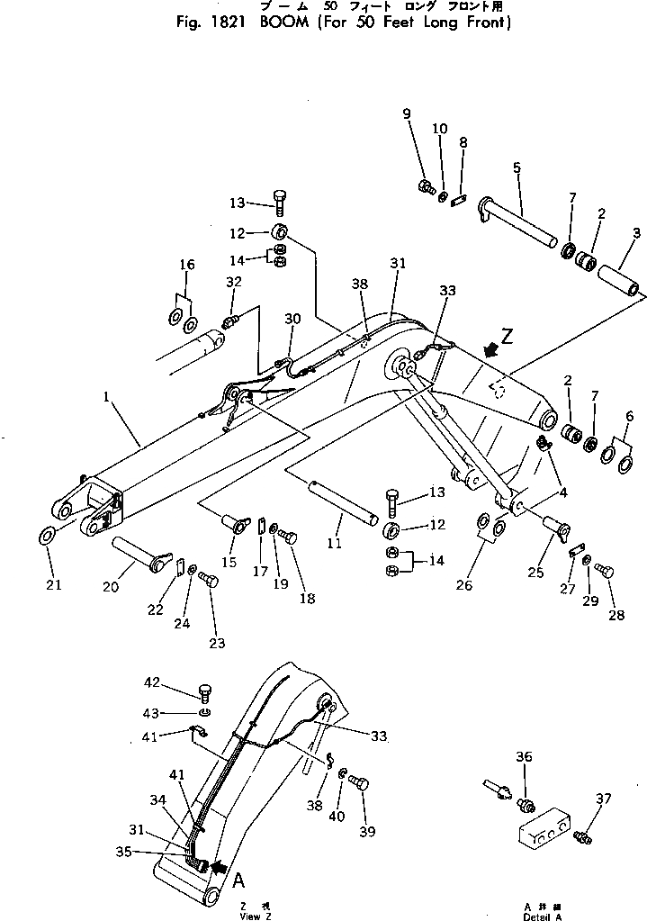
205-949-0010

BOOM ASS'Y

1

BOOM

2

205-949-1310

BUSHING

3

206-70-45580

SPACER

4

07020-00900

FITTING

5

205-70-65591

PIN

6

206-70-45210

SPACER, 1.5MM

6

206-70-45220

SPACER, 1.0MM

7

07145-00090

SEAL

8

205-70-65690

PLATE

9

01010-52050

BOLT

10

01643-32060

WASHER

11

206-70-45590

PIN

12

206-70-45620

PLATE

13

01011-52090

BOLT

14

01580-12016

NUT

15

205-70-66570

PIN

16

205-70-51450

SPACER, 1.0MM

16

205-70-61570

SPACER, 1.5MM

17

205-70-66580

PLATE

18

01010-51230

BOLT

19

01643-31232

WASHER

20

205-70-65680

PIN

21

206-70-45220

SPACER, 1.0MM

22

205-70-65690

PLATE

23

01010-52050

BOLT

24

01643-32060

WASHER

25

205-70-65750

PIN

26

205-70-51450

SPACER, 1.0MM

26

205-70-61570

SPACER, 1.5MM

27

205-70-66580

PLATE

28

01010-51230

BOLT

29

01643-31232

WASHER

30

209-72-16580

HOSE

31

206-949-1550

TUBE

32

205-70-65780

ELBOW

33

205-70-51360

HOSE, 540MM

34

206-70-45630

TUBE

35

206-70-45640

TUBE

36

07213-50813

CONNECTOR

37

07020-00000

FITTING

38

205-70-51420

CLIP

39

01010-50612

BOLT

40

01602-20619

WASHER

41

205-70-51410

CLIP

42

01010-50612

BOLT

43

01602-20619

WASHER

Выбрано товаров: 47