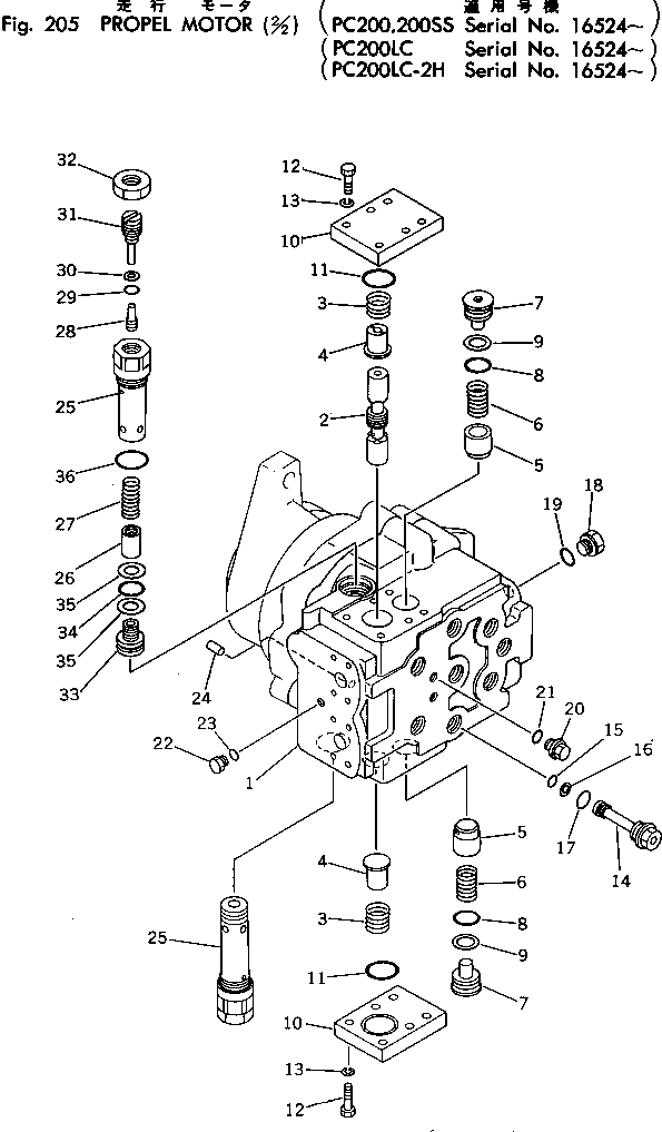
Запчасти Komatsu PC200-2 МОТОР ХОДА (/)(№-) ХОД И КОНЕЧНАЯ ПЕРЕДАЧА

Схема запчастей Komatsu PC200-2 - МОТОР ХОДА (/)(№-) ХОД И КОНЕЧНАЯ ПЕРЕДАЧА
FIT
1:1
100%

Артикул

Название

Примечание

Количество

|$0

706-75-10100

TRAVEL MOTOR ASS'Y

1

HOUSING

2

SPOOL

3

706-75-74190

SPRING

4

706-75-74161

RETAINER

5

706-75-74231

VALVE

6

706-75-74240

SPRING

7

706-75-74261

SEAT

8

07000-13022

O-RING

9

07001-03022

RING

10

706-75-74220

PLATE

11

07000-13040

O-RING

12

01010-51035

BOLT

13

01602-21030

WASHER

14

706-75-74420

PLUG

15

07000-12011

O-RING

16

07001-02011

RING

17

07002-12034

O-RING

18

700-22-11370

PLUG

19

07002-12434

O-RING

20

706-73-71450

PLUG

21

07002-11423

O-RING

22

07040-10807

PLUG

23

07002-10823

O-RING

24

04020-00820

PIN

|$25

706-75-76900

RELIEF VALVE ASS'Y

25

SLEEVE

26

VALVE

27

SPRING

28

PISTON

29

O-RING

30

RING

31

SCREW

32

NUT

33

SEAT

34

07000-22020

O-RING

35

07001-02020

RING

36

07002-12434

O-RING

Выбрано товаров: 38