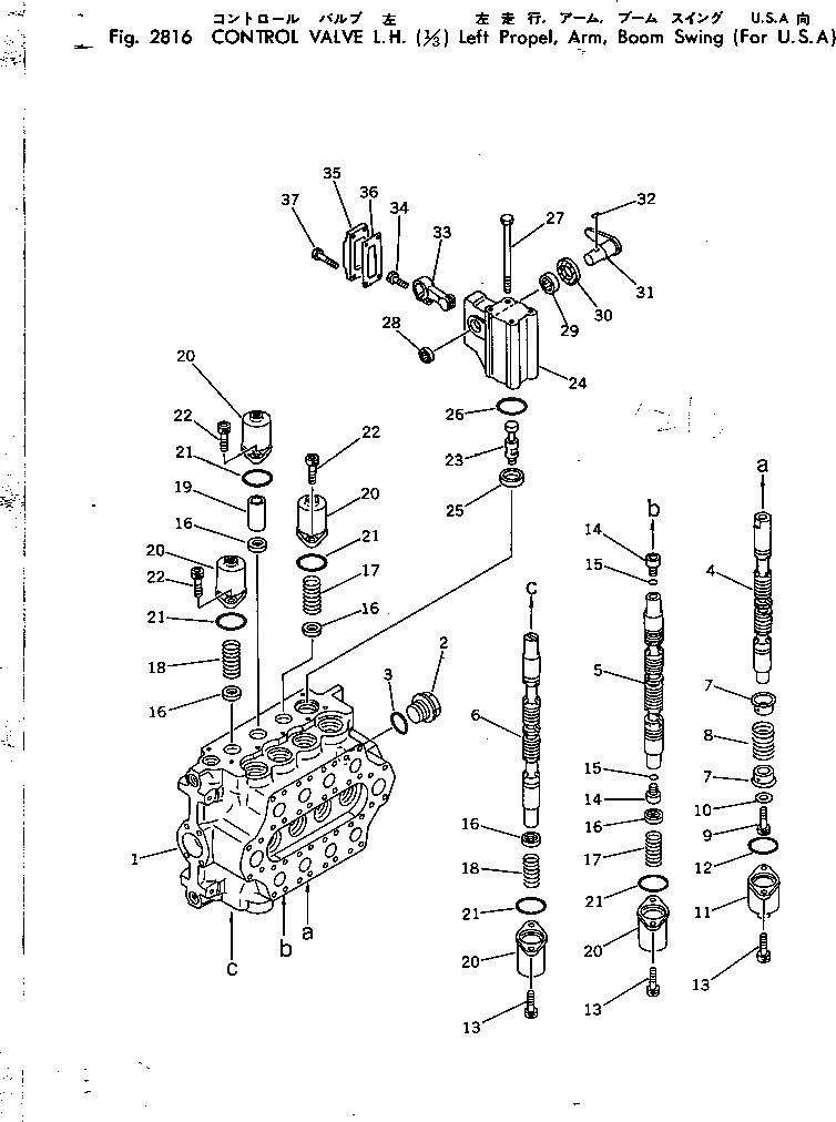
Запчасти Komatsu PC200-2 УПРАВЛЯЮЩ. КЛАПАН ЛЕВ. (/) (ЛЕВ. ХОД¤ РУКОЯТЬ¤ ПОВОРОТ СТРЕЛЫ) ОПЦИОННЫЕ КОМПОНЕНТЫ (СПЕЦ. APPLICATION ЧАСТИ)

Схема запчастей Komatsu PC200-2 - УПРАВЛЯЮЩ. КЛАПАН ЛЕВ. (/) (ЛЕВ. ХОД¤ РУКОЯТЬ¤ ПОВОРОТ СТРЕЛЫ) ОПЦИОННЫЕ КОМПОНЕНТЫ (СПЕЦ. APPLICATION ЧАСТИ)
FIT
1:1
100%

Артикул

Название

Примечание

Количество

|$0

700-94-29000

CONTROL VALVE ASS'Y

1

BODY

2

07040-13618

PLUG

3

07002-13634

O-RING

4

SPOOL

5

SPOOL

6

SPOOL

7

700-93-11870

RETAINER

8

700-93-11890

SPRING

9

01252-31016

BOLT

10

01643-31032

WASHER

11

700-93-12510

CASE

12

07430-71380

O-RING

13

01252-30820

BOLT

14

700-93-11230

PLUG

15

07002-11423

O-RING

16

700-93-12380

RETAINER

17

700-93-11371

SPRING

18

700-94-11450

SPRING

19

700-93-11361

SPACER

20

700-93-12390

CASE

21

07430-71380

O-RING

22

01252-30820

BOLT

23

700-93-11930

JOINT

24

700-94-11610

CASE

25

700-93-11720

COLLAR

26

07430-71380

O-RING

27

700-93-11730

BOLT

28

700-93-11740

BEARING

29

700-93-11750

BEARING

30

700-93-11762

SEAL

31

700-93-11770

LEVER

32

04010-00416

KEY

33

700-93-11780

LEVER

34

01010-30825

BOLT

35

700-93-11790

PLATE

36

700-93-11810

GASKET

37

01010-30820

BOLT

Выбрано товаров: 0