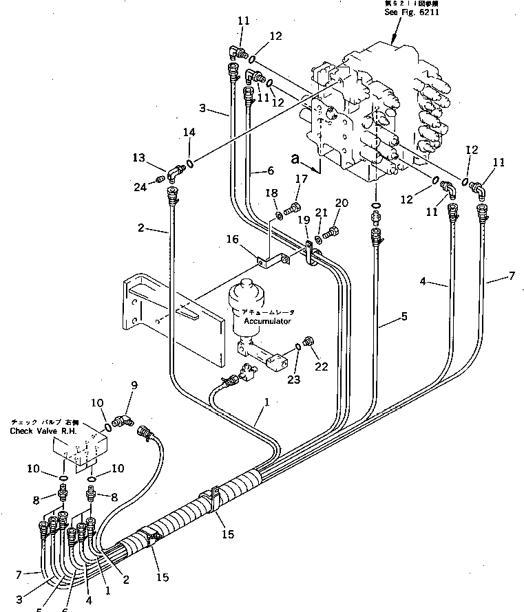
Запчасти Komatsu PC200-3 P.P.C. КЛАПАН ТРУБЫ (/)(ДЛЯ WRIST УПРАВЛ-Е)(БЕЗ АВТОМ. ЗАМЕДЛЕНИЕ ОБОРОТОВ)(W/O ПОВОРОТН. МЕХАНИЧ. ТОРМОЗ.) ПОВОРОТН. И СИСТЕМА УПРАВЛЕНИЯ

Схема запчастей Komatsu PC200-3 - P.P.C. КЛАПАН ТРУБЫ (/)(ДЛЯ WRIST УПРАВЛ-Е)(БЕЗ АВТОМ. ЗАМЕДЛЕНИЕ ОБОРОТОВ)(W/O ПОВОРОТН. МЕХАНИЧ. ТОРМОЗ.) ПОВОРОТН. И СИСТЕМА УПРАВЛЕНИЯ
FIT
1:1
100%

Артикул

Название

Примечание

Количество

|$0

205-62-74180

HOSE ASS'Y

1

205-62-74520

HOSE,(RED)

2

205-62-71740

HOSE

3

205-62-71810

HOSE,(YELLOW)

4

205-62-71790

HOSE,(BLACK)

5

205-62-74530

HOSE,(BLUE)

6

205-62-71740

HOSE,(GREEN)

7

205-62-74530

HOSE,(WHITE)

8

07230-20210

UNION

8

07230-10210

UNION

9

07235-10210

ELBOW

10

07002-01423

O-RING

11

07235-10210

ELBOW

12

07002-01423

O-RING

13

07235-50210

ELBOW

14

07002-01423

O-RING

15

21T-06-11950

CLIP

16

205-62-71890

BRACKET

17

01010-51225

BOLT

18

01643-31232

WASHER

19

21T-06-11950

CLIP

20

01010-51225

BOLT

21

01643-31232

WASHER

22

07040-11409

PLUG

23

07002-01423

O-RING

24

07042-30108

PLUG

Выбрано товаров: 26