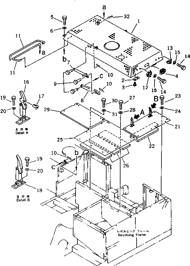
Запчасти Komatsu PC200-3 MACHINERY ОБСТАНОВКА (/)(№7-) ОСНОВНАЯ РАМА И КАБИНА

Схема запчастей Komatsu PC200-3 - MACHINERY ОБСТАНОВКА (/)(№7-) ОСНОВНАЯ РАМА И КАБИНА
FIT
1:1
100%

Артикул

Название

Примечание

Количество

1

205-54-75383

HOOD

2

205-54-68440

PLATE

3

01224-40620

SCREW

4

209-54-12280

HANDLE

5

01010-51230

BOLT

6

01643-31232

WASHER

7

205-54-75323

STAY

8

205-54-65940

STAY

9

04205-11228

PIN

10

04052-01253

PIN,SNAP

11

205-54-75344

SPRING

12

205-54-67660

SUPPORT

13

205-54-67660

SUPPORT

14

01010-50825

BOLT

15

01643-30823

WASHER

16

205-54-76260

CATCHER

17

205-54-76280

ROTOR ASS'Y

18

205-54-76530

CATCHER

19

01010-50825

BOLT

20

01643-30823

WASHER

21

205-54-76122

COVER

22

205-54-75621

SHEET

23

01010-51230

BOLT

24

01643-31232

WASHER

25

205-54-76111

COVER

26

205-54-75611

SHEET

27

01010-51230

BOLT

28

01643-31232

WASHER

29

205-54-76132

COVER

30

01010-51230

BOLT

31

01643-31232

WASHER

32

04050-13030

PIN,COTTER

Выбрано товаров: 32