Запчасти Komatsu PC200-3 УПРАВЛЯЮЩ. КЛАПАН (/7) (ДЛЯ WRIST УПРАВЛ-Е)(№-) УПРАВЛ-Е РАБОЧИМ ОБОРУДОВАНИЕМ

Схема запчастей Komatsu PC200-3 - УПРАВЛЯЮЩ. КЛАПАН (/7) (ДЛЯ WRIST УПРАВЛ-Е)(№-) УПРАВЛ-Е РАБОЧИМ ОБОРУДОВАНИЕМ
FIT
1:1
100%

Артикул

Название

Примечание

Количество

|$0

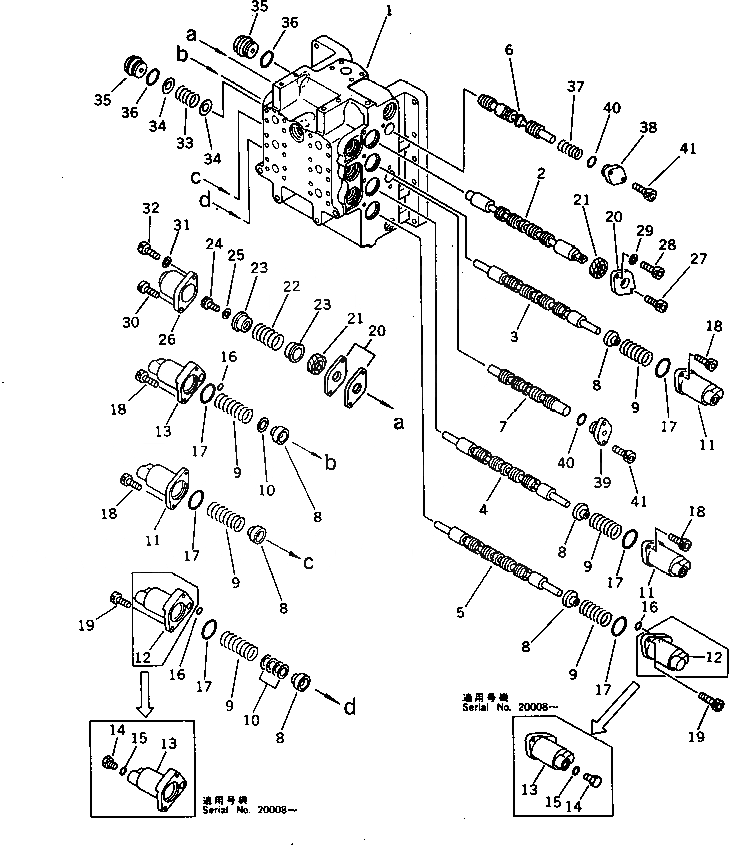
709-79-12102

CONTROL VALVE ASS'Y

|$1

709-79-12101

CONTROL VALVE ASS'Y

|$2

709-79-12100

CONTROL VALVE ASS'Y

|$3

709-74-92101

VALVE ASS'Y

|$4

709-74-92100

VALVE ASS'Y

1

BODY,VALVE

2

SPOOL,R.H. TRAVEL

3

SPOOL,BOOM

4

SPOOL,BUCKET

5

SPOOL,ARM HIGH

5

SPOOL,ARM HIGH

6

SPOOL

7

SPOOL

7

SPOOL

8

709-74-92110

RETAINER

9

709-74-92180

SPRING

10

709-74-92360

SHIM, 0.5MM

11

709-74-92120

CASE

12

709-74-92150

CASE

13

709-74-92140

CASE

13

709-74-92140

CASE

14

07040-11409

PLUG

15

07002-01423

O-RING

16

07000-02010

O-RING

17

709-74-92170

O-RING

18

01252-30820

BOLT

19

01252-30830

BOLT

20

709-75-92110

PLATE

21

709-75-92120

SEAL

22

709-75-92180

SPRING

22

709-75-92150

SPRING

23

709-75-92130

RETAINER

24

01252-30812

BOLT

25

01643-30823

WASHER

26

709-75-92140

CASE

27

01252-30812

BOLT

28

01252-30816

BOLT

29

01643-30823

WASHER

30

01252-30825

BOLT

31

01643-50823

WASHER

32

01252-30830

BOLT

33

700-23-13130

SPRING

34

709-74-92270

WASHER

35

709-74-92220

PLUG

36

07002-03034

O-RING

37

709-74-92190

SPRING

38

709-74-92250

PLATE

39

709-74-92240

PLATE

40

07000-02018

O-RING

41

01252-30820

BOLT

Выбрано товаров: 50