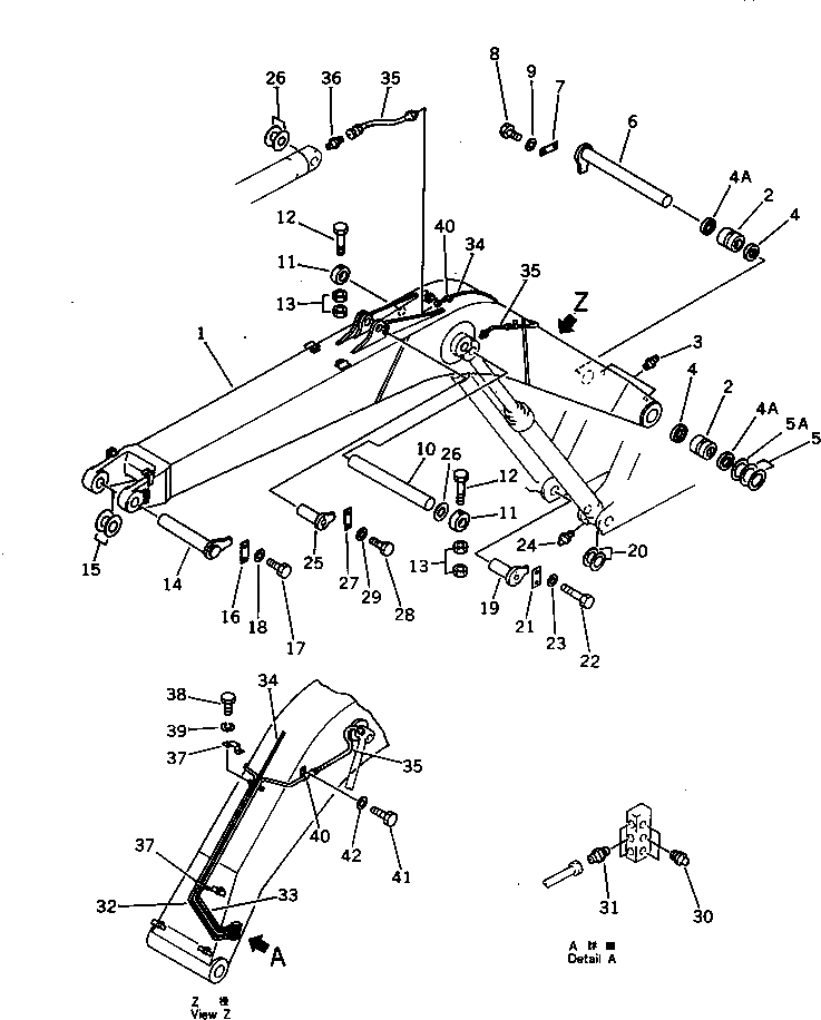
Запчасти Komatsu PC200-3 СТРЕЛА РАБОЧЕЕ ОБОРУДОВАНИЕ

Схема запчастей Komatsu PC200-3 - СТРЕЛА РАБОЧЕЕ ОБОРУДОВАНИЕ
FIT
1:1
100%

Артикул

Название

Примечание

Количество

|$0

205-70-00071

BOOM ASS'Y

1

BOOM

2

205-70-71291

BUSHING

2

205-70-71240

BUSHING

3

07020-00000

FITTING,GREASE

4

07145-00080

SEAL,DUST

4A

07145-00080

SEAL,DUST

5

205-70-51450

SPACER, 1.0MM

5A

205-70-61570

SPACER, 1.5MM

6

205-70-71160

PIN

7

205-70-71311

PLATE

7

205-70-71310

PLATE

8

01010-51640

BOLT

8

01010-51235

BOLT

9

01643-31645

WASHER

9

01643-31232

WASHER

10

206-70-51190

PIN

11

205-70-65670

PLATE

12

205-70-73190

BOLT

13

01580-12016

NUT

14

205-70-65680

PIN

15

206-70-45220

SPACER, 1.0MM

16

205-70-71310

PLATE

17

01010-51235

BOLT

18

01643-31232

WASHER

19

205-70-71210

PIN

20

203-70-24170

SPACER, 1.0MM

21

205-70-66580

PLATE

22

01010-51235

BOLT

23

01643-31232

WASHER

24

07020-00000

FITTING,GREASE

25

205-70-71320

PIN

26

205-70-51520

SPACER, 1.0MM

27

205-70-66580

PLATE

28

01010-51235

BOLT

29

01643-31232

WASHER

30

07020-00000

FITTING,GREASE

31

07213-50813

CONNECTOR

32

205-70-71251

TUBE

33

205-70-71271

TUBE

34

205-70-71261

TUBE

35

205-70-51360

HOSE, 540MM

36

205-70-51390

NIPPLE

37

205-70-51410

CLIP

38

01010-50612

BOLT

39

01602-20619

WASHER,SPRING

40

08036-00814

CLIP

40

21T-62-25740

CLIP

41

01010-51020

BOLT

42

01643-31032

WASHER

Выбрано товаров: 50