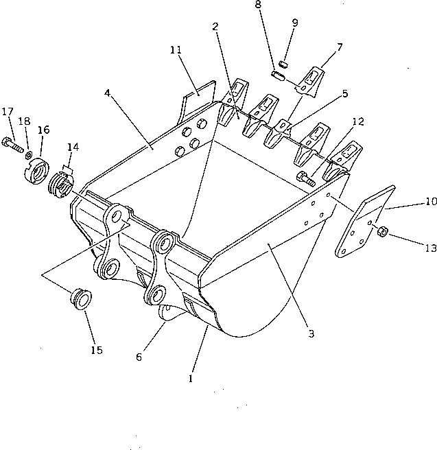
Запчасти Komatsu PC200-3 КОВШ¤ .7M¤ ШИР. MM¤ С КРЮК (КРОМЕ ЯПОН.)(№-) РАБОЧЕЕ ОБОРУДОВАНИЕ

Схема запчастей Komatsu PC200-3 - КОВШ¤ .7M¤ ШИР. MM¤ С КРЮК (КРОМЕ ЯПОН.)(№-) РАБОЧЕЕ ОБОРУДОВАНИЕ
FIT
1:1
100%

Артикул

Название

Примечание

Количество

1

205-70-74460

BUCKET

2

205-70-74151

PLATE (WELDED)

2

205-70-74150

PLATE (WELDED)

3

205-70-74162

PLATE,L.H. (WELDED)

3

205-70-74161

PLATE,L.H. (WELDED)

4

205-70-74172

PLATE,R.H. (WELDED)

4

205-70-74171

PLATE,R.H. (WELDED)

5

205-70-74261

ADAPTER (WELDED)

6

205-70-69570

HOOK (WELDED)

6

205-70-74420

HOOK (WELDED)

7

205-70-74272

TOOTH

7

205-70-74271

TOOTH

8

205-70-74281

PIN

8

205-70-74280

PIN

9

205-70-74291

LOCK

9

205-70-74290

LOCK

10

205-70-74180

CUTTER,L.H.

11

205-70-74190

CUTTER,R.H.

12

176-32-11210

BOLT, SHOE

13

01803-02430

NUT

14

205-70-00101

SHIM ASS'Y

14

205-70-00100

SHIM ASS'Y

14

SHIM, 0.5MM

14

SHIM, 1.0MM

14

SHIM, 1.0MM

15

205-70-74381

SPACER

16

205-70-74391

PLATE

17

01010-52055

BOLT

18

01643-32060

WASHER

Выбрано товаров: 29