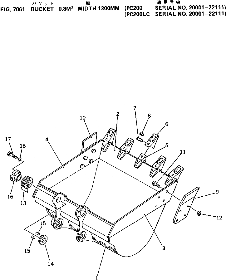
Запчасти Komatsu PC200-3 КОВШ¤ .8M ШИР. MM(№-) РАБОЧЕЕ ОБОРУДОВАНИЕ

Схема запчастей Komatsu PC200-3 - КОВШ¤ .8M ШИР. MM(№-) РАБОЧЕЕ ОБОРУДОВАНИЕ
FIT
1:1
100%

Артикул

Название

Примечание

Количество

1

205-920-7210

BUCKET

2

205-920-7220

PLATE (WELDED)

3

205-70-74161

PLATE,L.H. (WELDED)

4

205-70-74171

PLATE,R.H. (WELDED)

5

205-70-74261

ADAPTER (WELDED)

6

205-70-74271

TOOTH

7

205-70-74280

PIN

8

205-70-74290

LOCK

9

205-70-74180

CUTTER,L.H.

10

205-70-74190

CUTTER,R.H.

11

176-32-11210

BOLT, SHOE

12

01803-02430

NUT

13

205-70-00100

SHIM ASS'Y

13

205-70-74350

SHIM, 0.5MM

13

205-70-74340

SHIM, 1.0MM

14

205-70-74380

SPACER

15

04020-00514

PIN,DOWEL

16

205-70-74390

BUSHING

17

01010-52055

BOLT

18

01643-32060

WASHER

Выбрано товаров: 20