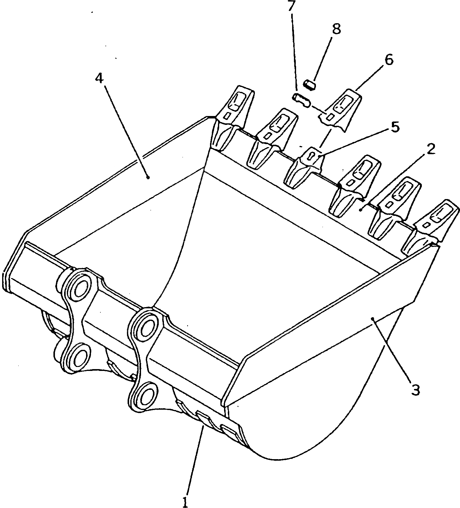
Запчасти Komatsu PC200-3 КОВШ¤ .9M¤ ШИР. MM(№7-) РАБОЧЕЕ ОБОРУДОВАНИЕ

Схема запчастей Komatsu PC200-3 - КОВШ¤ .9M¤ ШИР. MM(№7-) РАБОЧЕЕ ОБОРУДОВАНИЕ
FIT
1:1
100%

Артикул

Название

Примечание

Количество

1

205-920-7311

BUCKET

2

205-920-7321

PLATE (WELDED)

2

205-920-7320

PLATE (WELDED)

3

205-920-7331

PLATE,L.H. (WELDED)

3

205-920-7330

PLATE,L.H. (WELDED)

4

205-920-7341

PLATE,R.H. (WELDED)

4

205-920-7340

PLATE,R.H. (WELDED)

5

205-70-74261

ADAPTER (WELDED)

6

205-70-74272

TOOTH

6

205-70-74271

TOOTH

7

205-70-74281

PIN

7

205-70-74280

PIN

8

205-70-74291

LOCK

8

205-70-74290

LOCK

Выбрано товаров: 14