Запчасти Komatsu PC200-3 КОВШ¤ .9M¤ ШИР. MM¤ С БОКОРЕЗЫ(№-) РАБОЧЕЕ ОБОРУДОВАНИЕ

Схема запчастей Komatsu PC200-3 - КОВШ¤ .9M¤ ШИР. MM¤ С БОКОРЕЗЫ(№-) РАБОЧЕЕ ОБОРУДОВАНИЕ
FIT
1:1
100%

Артикул

Название

Примечание

Количество

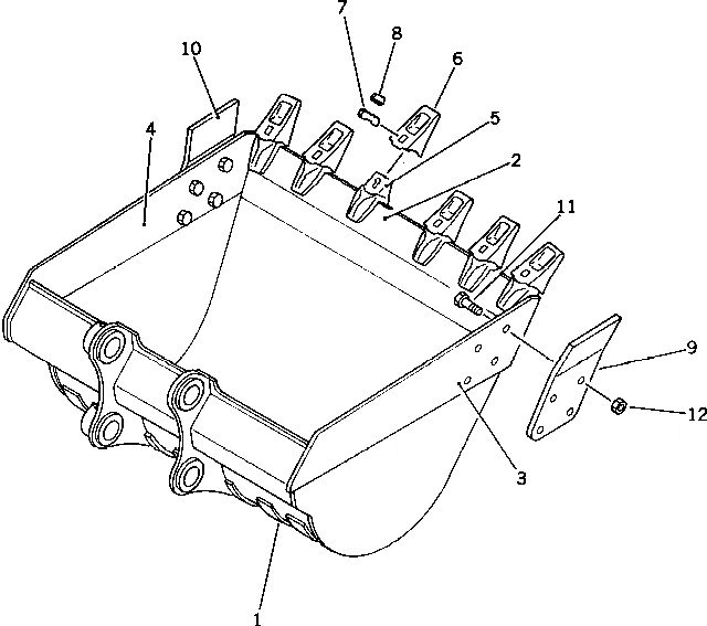
1

205-920-7361

BUCKET

2

205-920-7321

PLATE (WELDED)

2

205-920-7320

PLATE (WELDED)

3

205-70-74162

PLATE,L.H. (WELDED)

3

205-70-74161

PLATE,L.H. (WELDED)

4

205-70-74172

PLATE,R.H. (WELDED)

4

205-70-74171

PLATE,R.H. (WELDED)

5

205-70-74261

ADAPTER (WELDED)

6

205-70-74272

TOOTH

6

205-70-74271

TOOTH

7

205-70-74281

PIN

7

205-70-74280

PIN

8

205-70-74291

LOCK

8

205-70-74290

LOCK

9

205-70-74180

CUTTER,L.H.

10

205-70-74190

CUTTER,R.H.

11

176-32-11210

BOLT, SHOE

12

01803-02430

NUT

Выбрано товаров: 18