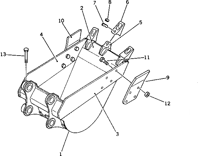
Запчасти Komatsu PC200-3 КОВШ¤ .M ШИР. 7MM(№-) РАБОЧЕЕ ОБОРУДОВАНИЕ

Схема запчастей Komatsu PC200-3 - КОВШ¤ .M ШИР. 7MM(№-) РАБОЧЕЕ ОБОРУДОВАНИЕ
FIT
1:1
100%

Артикул

Название

Примечание

Количество

1

205-926-7210

BUCKET

2

205-926-7220

PLATE (WELDED)

3

205-70-74161

PLATE,L.H. (WELDED)

4

205-70-74171

PLATE,R.H. (WELDED)

5

205-70-74261

ADAPTER (WELDED)

6

205-70-74271

TOOTH

7

205-70-74280

PIN

8

205-70-74290

LOCK

9

205-70-74180

CUTTER,L.H.

10

205-70-74190

CUTTER,R.H.

11

176-32-11210

BOLT, SHOE

12

01803-02430

NUT

13

205-70-73190

BOLT

Выбрано товаров: 13